授权公布号:CN216338819U
一种高承载环保地坪
有效
申请
2021-07-26
申请公布
1970-01-01
授权
2022-04-19
预估到期
2031-07-26
| 申请号 | CN202121703155.3 |
| 申请日 | 2021-07-26 |
| 授权公布号 | CN216338819U |
| 授权公告日 | 2022-04-19 |
| 分类号 | E01C11/22;E03B3/02 |
| 分类 | 道路、铁路或桥梁的建筑; |
| 申请人名称 | 上海典跃建材科技有限公司 |
| 申请人地址 | 上海市奉贤区肖湾路511号2幢3层 |
专利法律状态
2022-04-19
授权
状态信息
授权
摘要
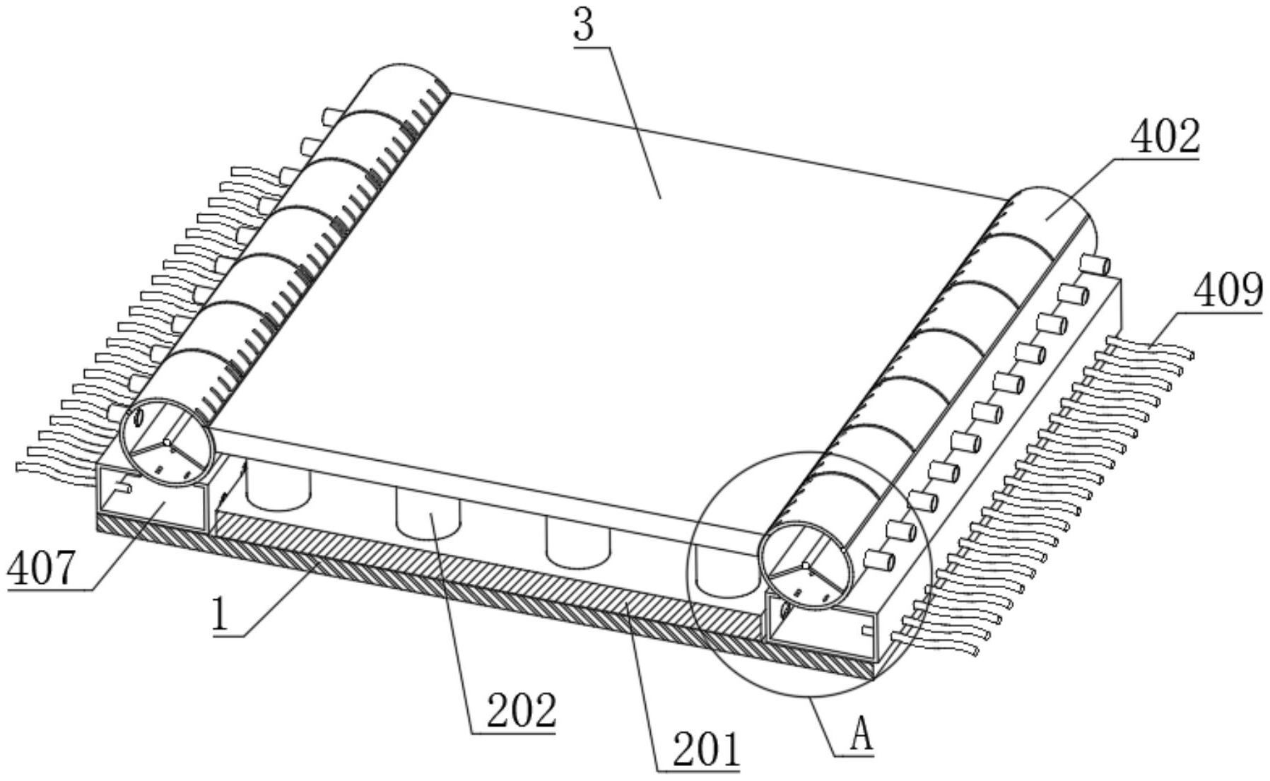
本实用新型涉及建筑施工技术领域,具体为一种高承载环保地坪,包括地基,所述地基的顶部设置有支撑结构,所述支撑结构的顶部设置有路面,所述路面的左右两侧均设置有排水结构,所述排水结构包括筛分管、顶盖、第一隔板、第二隔板、排水管、漏水孔、蓄水箱、进水管和引水绳,所述筛分管的顶部活动连接有顶盖。本实用新型的优点在于:通过设置排水结构,达到了既可以有效储存利用雨水的目的,避免出现排水效果不佳的缺点,同时S形漏水孔既可以使雨水进入蓄水箱,又可以防止蓄水箱内部的气味进入筛分管,通过设置支撑结构,达到了可以便于工作人员快速铺设路面的目的,同时又可以使路面具有较高的承载能力,结构简单,操作方便。


