授权公布号:CN218529841U
一种易清洗的冷凝设备
有效
申请
2022-09-14
申请公布
1970-01-01
授权
2023-02-28
预估到期
2032-09-14
| 申请号 | CN202222430180.X |
| 申请日 | 2022-09-14 |
| 授权公布号 | CN218529841U |
| 授权公告日 | 2023-02-28 |
| 分类号 | B01D5/00;F28G9/00 |
| 分类 | 一般的物理或化学的方法或装置; |
| 申请人名称 | 台昌树脂(佛山)有限公司 |
| 申请人地址 | 广东省佛山市三水西南工业园兴业五路18号 |
专利法律状态
2023-02-28
授权
状态信息
授权
摘要
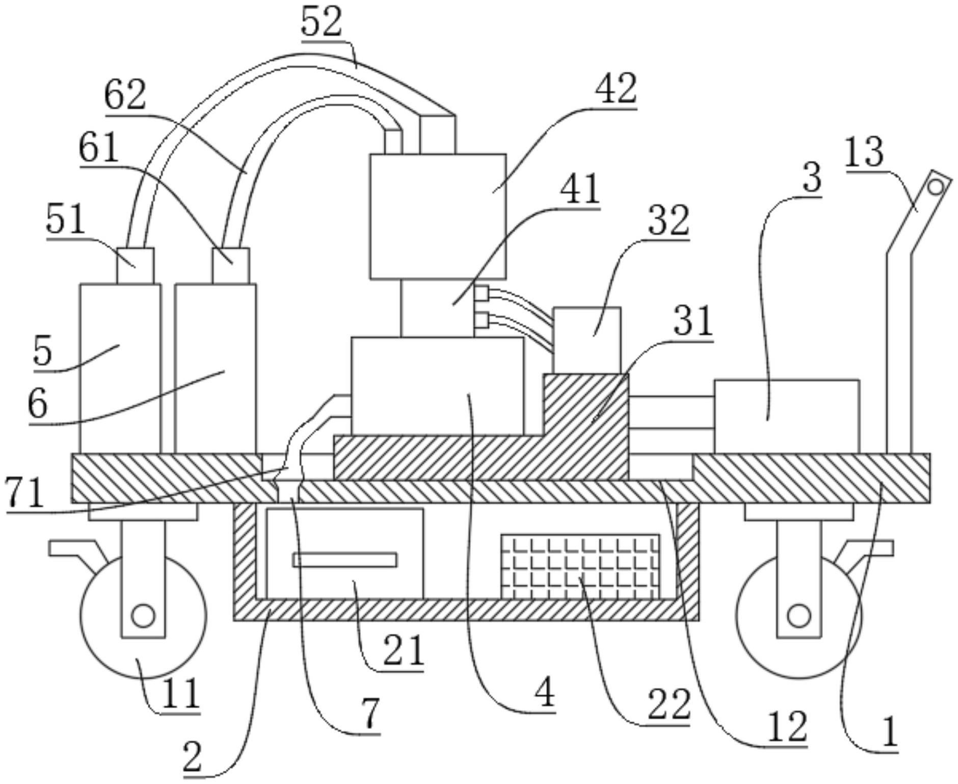
本实用新型涉及树脂生产技术领域,具体为一种易清洗的冷凝设备,包括底板和滑座,底板上设有脚轮和底支架,滑座上设有回收罐和冷凝器,回收罐上设有冷凝管道,冷凝管道上设有预备罐,底支架上设有接水箱和蓄电池,底板上设有导滑槽和排水口,底板上设有往复气缸、储料箱、储液箱,冷凝器通过预置导管与冷凝管道连接。实现了将预存在储液箱中的丙酮溶液泵入,同时实现预备罐、回收罐、冷凝管道整体左右往复移动,提高了用于树脂生产的冷凝设备的易清洗性,通过在底板上设置四个脚轮以及一个扶手,并在底板底部设置具有蓄电池的底支架,提高了用于树脂生产的冷凝设备整体灵活移动性。


