授权公布号:CN218530907U
一种防止泄漏的提取装置
有效
申请
2022-09-14
申请公布
1970-01-01
授权
2023-02-28
预估到期
2032-09-14
| 申请号 | CN202222431182.0 |
| 申请日 | 2022-09-14 |
| 授权公布号 | CN218530907U |
| 授权公告日 | 2023-02-28 |
| 分类号 | B01J19/18;B01J4/00;G01N1/14 |
| 分类 | 一般的物理或化学的方法或装置; |
| 申请人名称 | 台昌树脂(佛山)有限公司 |
| 申请人地址 | 广东省佛山市三水西南工业园兴业五路18号 |
专利法律状态
2023-02-28
授权
状态信息
授权
摘要
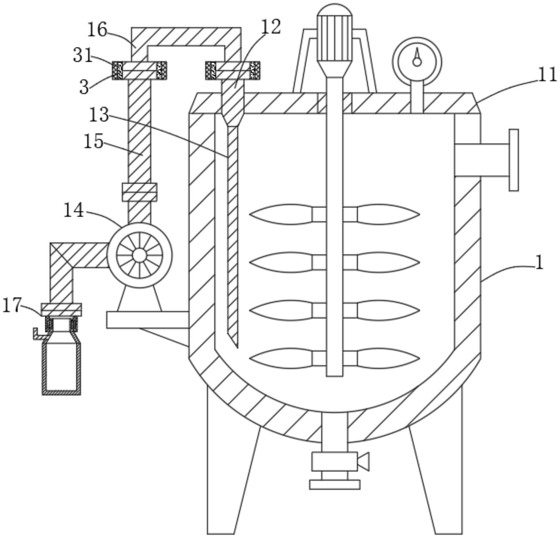
本实用新型涉及胶水生产技术领域,具体为一种防止泄漏的提取装置,包括反应釜罐体,反应釜罐体上覆盖固定有反应釜盖体,反应釜盖体上固定嵌入有提取接口,提取接口上固定有采样管,反应釜罐体的一侧固定有胶泵,胶泵的进料口位置法兰连接有第一衔接管,第一衔接管与提取接口均法兰连接有第二衔接管。本实用新型通过多个管道及接口配合,可通过胶泵将胶水抽取一部分进入到透明塑料瓶内进行样品提取,通过对第一衔接管两端采用密封环箍进行环包密封加固,可避免在胶水抽取时,出现泄漏的情况。


