授权公布号:CN216064129U
一种水性艺术涂料专用旋振筛装置
有效
申请
2020-06-12
申请公布
1970-01-01
授权
2022-03-18
预估到期
2030-06-12
| 申请号 | CN202021081474.0 |
| 申请日 | 2020-06-12 |
| 授权公布号 | CN216064129U |
| 授权公告日 | 2022-03-18 |
| 分类号 | B07B1/28;B07B1/42 |
| 分类 | 将固体从固体中分离;分选; |
| 申请人名称 | 铃鹿复合建材(上海)有限公司 |
| 申请人地址 | 上海市青浦区双盈路99号 |
专利法律状态
2022-03-18
授权
状态信息
授权
摘要
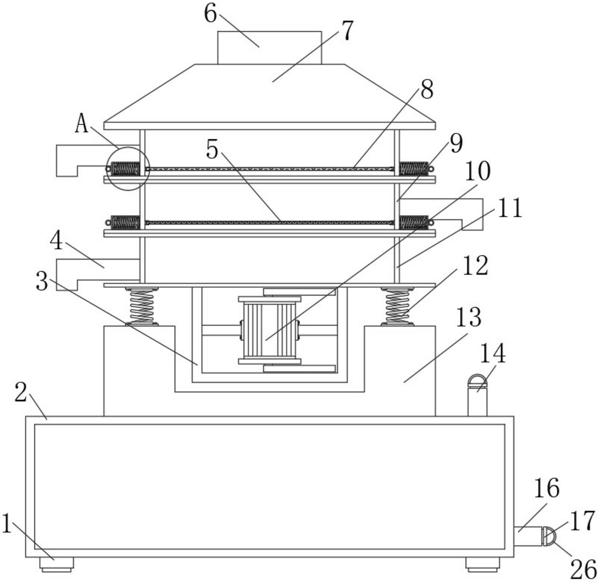
本实用新型属于旋振筛装置技术领域,且公开了一种水性艺术涂料专用旋振筛装置,包括底座,所述底座的顶部呈环形阵列安装有四个弹簧,四个所述弹簧顶部之间安装有第三筛框,所述第三筛框底部靠近四个弹簧之间的一侧位置处安装有底壳,所述底壳的内部安装有震动电机,且底壳的一侧安装有控制器,所述第三筛框的顶部安装有第二筛框,本实用新型通过压簧对移动板挤压推动,使移动板带动移动杆移动,使移动杆插入第一筛框和第二筛框中,通过限位槽将第一滤板和第二滤板固定,当使用者需要更换滤板时,无需拧下大量固定结构,只需拉动移动杆即可,降低了滤板的更换难度,提高了滤板的更换效率。


