授权公布号:CN216368757U
一种用于纯彩石的批涂工具
有效
申请
2021-11-25
申请公布
1970-01-01
授权
2022-04-26
预估到期
2031-11-25
| 申请号 | CN202122905815.2 |
| 申请日 | 2021-11-25 |
| 授权公布号 | CN216368757U |
| 授权公告日 | 2022-04-26 |
| 分类号 | B05C17/00 |
| 分类 | 一般喷射或雾化;对表面涂覆液体或其他流体的一般方法〔2〕; |
| 申请人名称 | 铃鹿复合建材(上海)有限公司 |
| 申请人地址 | 上海市青浦区双盈路99号 |
专利法律状态
2022-04-26
授权
状态信息
授权
摘要
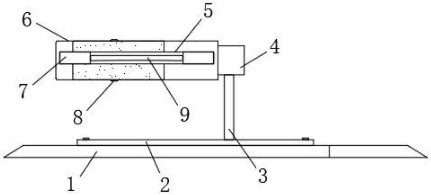
本实用新型属于彩石批涂技术领域,具体涉及一种用于纯彩石的批涂工具,包括批刀板,所述批刀板的顶部安装有连接条,所述连接条的顶部固定有连接杆,所述连接杆的顶端连接有握杆,所述握杆的一端安装有握柄,且握杆延伸至握柄内部的一端开设有腔槽,所述腔槽的内部安装有第一弹簧,所述第一弹簧的两端均固定有定位块,两个所述定位块远离第一弹簧的一端均连接有卡柱,两个所述卡柱远离定位块的一端均延伸至握杆的外部,本实用新型通过卡柱、腔槽、定位块和第一弹簧等结构的配合,可控制握柄在握杆上滑动,从而能够调节握柄的长度,以便根据使用者的需求调整手部距批刀板的位置,拿持时更加的舒适,大大提高了使用效果。


