授权公布号:CN212932345U
一种双组份界面剂附着力测试工具
有效
申请
2020-06-12
申请公布
1970-01-01
授权
2021-04-09
预估到期
2030-06-12
| 申请号 | CN202021082637.7 |
| 申请日 | 2020-06-12 |
| 授权公布号 | CN212932345U |
| 授权公告日 | 2021-04-09 |
| 分类号 | G01N19/04 |
| 分类 | 测量;测试; |
| 申请人名称 | 铃鹿复合建材(上海)有限公司 |
| 申请人地址 | 上海市青浦区双盈路99号 |
专利法律状态
2021-04-09
授权
状态信息
授权
摘要
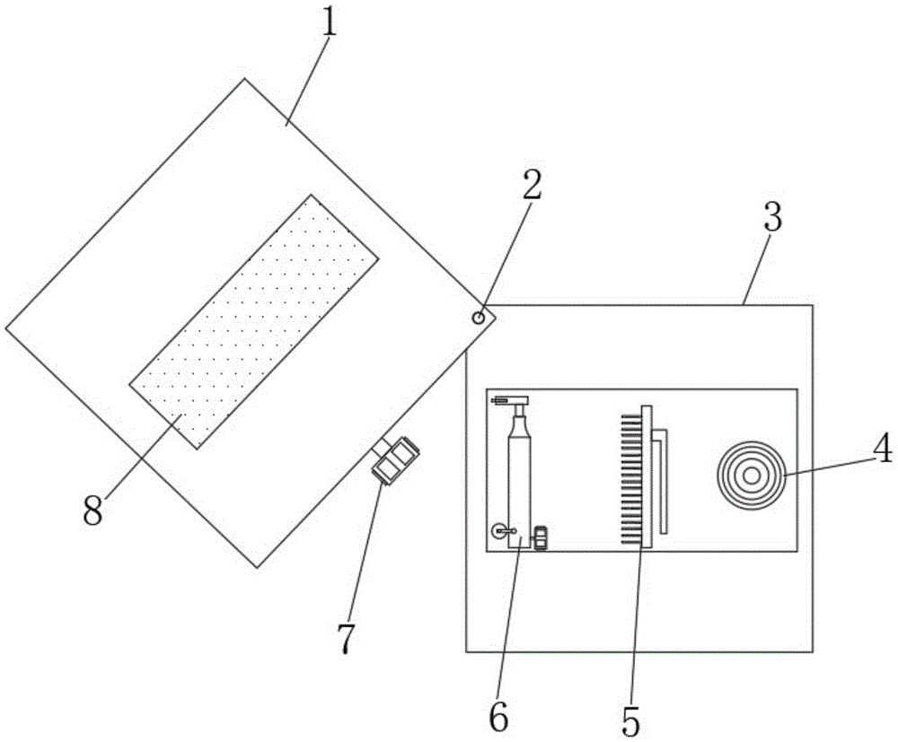
本实用新型公开了一种双组份界面剂附着力测试工具,本实用新型涉及附着力测试技术领域,包括底板,所述底板的顶部通过转动轴转动连接有安装面板,所述底板的顶部放置有划痕刀具,且划痕刀具的一侧安装有毛刷,所述毛刷的一侧放置有压敏胶带,所述划痕刀具的顶端安装有刀片安装头,且刀片安装头的一侧安装有刀片,所述安装面板的顶部开设有测试基板放置槽,且测试基板放置槽的内部通过第二紧固螺栓固定连接有测试基板,本实用新型通过在底板上设置了安装面板,解决了不便于更换测试基板的问题,通过在安装面板上设置了滑杆,解决了划痕刀具不能准确的进行九十度划痕的问题。


