授权公布号:CN212932454U
一种无机涂料耐火性能测试设备
有效
申请
2020-06-12
申请公布
1970-01-01
授权
2021-04-09
预估到期
2030-06-12
| 申请号 | CN202021082661.0 |
| 申请日 | 2020-06-12 |
| 授权公布号 | CN212932454U |
| 授权公告日 | 2021-04-09 |
| 分类号 | G01N25/00 |
| 分类 | 测量;测试; |
| 申请人名称 | 铃鹿复合建材(上海)有限公司 |
| 申请人地址 | 上海市青浦区双盈路99号 |
专利法律状态
2021-04-09
授权
状态信息
授权
摘要
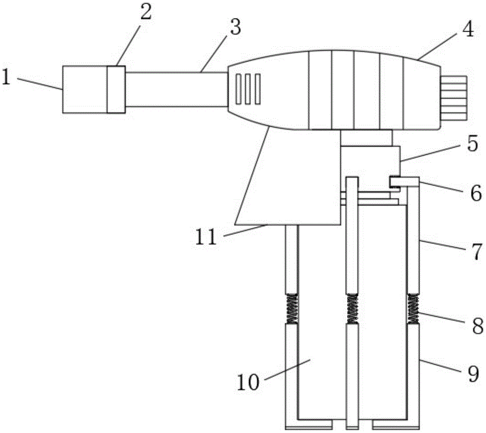
本实用新型属于无机涂料技术领域,且公开了一种无机涂料耐火性能测试设备,包括火焰喷射枪体,所述火焰喷射枪体的一侧安装有喷射管,且火焰喷射枪体的底部固定有安装座,所述火焰喷射枪体的底部靠近安装座的一侧安装有按钮,所述安装座的底部连接有燃料罐,所述燃料罐的外壁安装有四个第二连接板,四个所述第二连接板的顶端均固定有弹簧,本实用新型通过第二连接板、第一连接板、限位块、限位槽和弹簧的配合,可将燃料罐抵紧在安装座上,从而使燃料罐稳定连接,防止了燃料罐发生活动,避免了燃剂泄漏,提高了安全性,通过护板可隔离火焰高温的灼烧,从而对使用者的手部进行保护,避免烧伤皮肤,提高了使用时的舒适度。


