授权公布号:CN210343637U
一种玻璃胶生产用无油空气压缩机
有效
申请
2019-05-21
申请公布
1970-01-01
授权
2020-04-17
预估到期
2029-05-21
| 申请号 | CN201920733926.X |
| 申请日 | 2019-05-21 |
| 授权公布号 | CN210343637U |
| 授权公告日 | 2020-04-17 |
| 分类号 | F04B35/04;F04B39/06 |
| 分类 | 液体变容式机械;液体泵或弹性流体泵; |
| 申请人名称 | 佛山市顺德区创世纪实业有限公司 |
| 申请人地址 | 广东省佛山市顺德区勒流镇光大工业区6号 |
专利法律状态
2020-04-17
授权
状态信息
授权
摘要
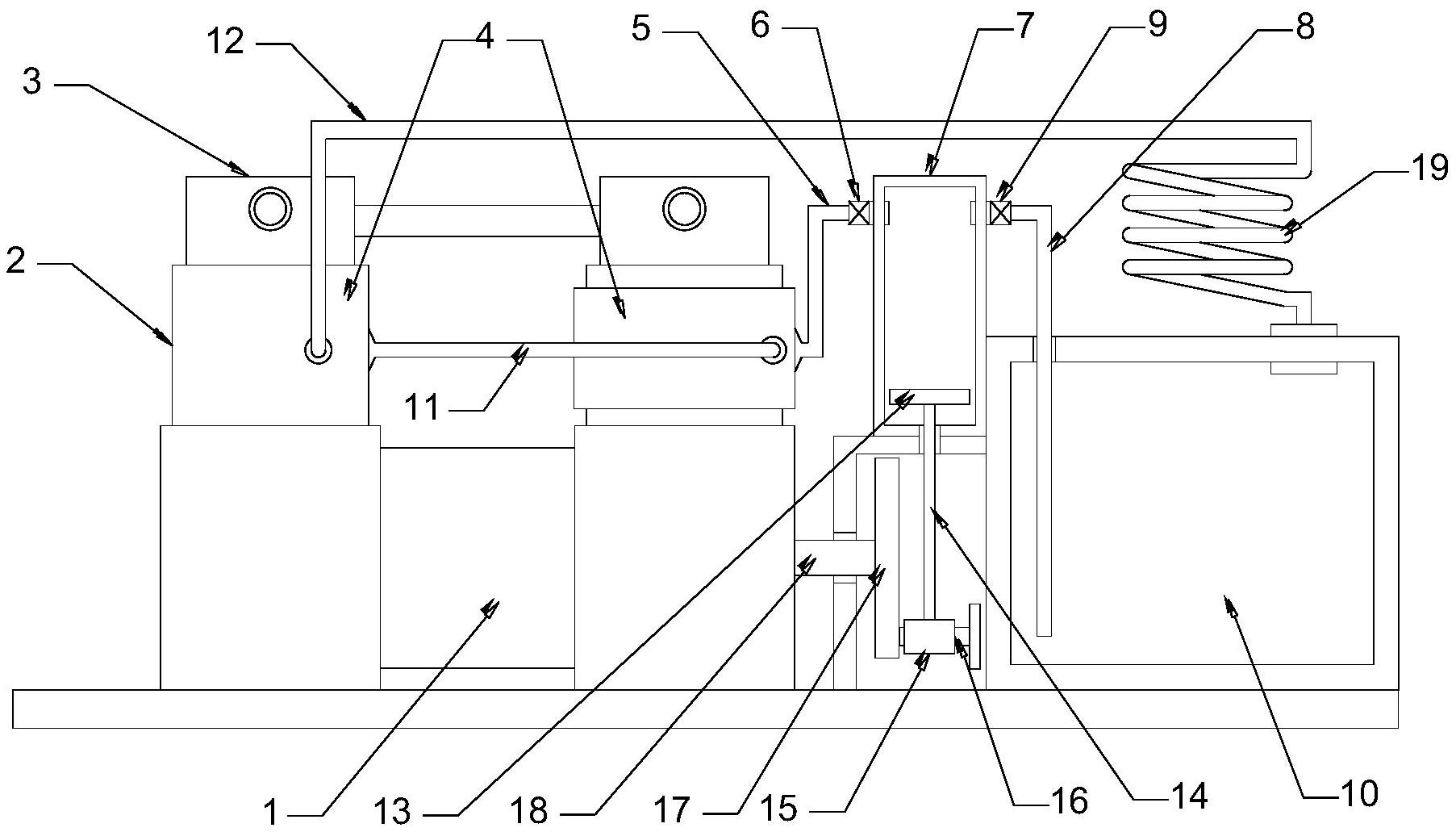
本实用新型公开了一种玻璃胶生产用无油空气压缩机,包括电机和活塞气缸;所述电机两侧设有活塞气缸,活塞气缸外侧套设有冷却夹套,冷却夹套连通有冷却液循环机构。本实用新型通过设有冷却夹套和冷却液循环机构,实现对气缸活塞的液冷冷却,相比气冷方式,冷却效果明显,适合工厂连续作业的场景;通过设有包括连杆、偏心盘、偏心柱的往复驱动机构,实现与电机输出轴的联动,结构紧凑,无需单独设置动力设备,方便实用。


