授权公布号:CN211800359U
一种设有PVC膜套的免清洗硅酮胶生产用分散机
有效
申请
2019-12-31
申请公布
1970-01-01
授权
2020-10-30
预估到期
2029-12-31
| 申请号 | CN201922469906.9 |
| 申请日 | 2019-12-31 |
| 授权公布号 | CN211800359U |
| 授权公告日 | 2020-10-30 |
| 分类号 | B01F7/24 |
| 分类 | 一般的物理或化学的方法或装置; |
| 申请人名称 | 山东永安胶业有限公司 |
| 申请人地址 | 山东省潍坊市临朐七贤工贸园 |
专利法律状态
2023-06-16
专利权质押合同登记的生效、变更及注销
状态信息
专利权质押合同登记的注销;IPC(主分类):B01F7/24;授权公告日:20201030;申请日:20191231;登记号:Y2022980003633;出质人:山东永安胶业有限公司;质权人:潍坊银行股份有限公司临朐朐山路支行;解除日:20230530
2022-04-15
专利权质押合同登记的生效、变更及注销
状态信息
专利权质押合同登记的生效;IPC(主分类):B01F7/24;登记号:Y2022980003633;登记生效日:20220331;出质人:山东永安胶业有限公司;质权人:潍坊银行股份有限公司临朐朐山路支行;实用新型名称:一种设有PVC膜套的免清洗硅酮胶生产用分散机;申请日:20191231;授权公告日:20201030
2020-10-30
授权
状态信息
授权
摘要
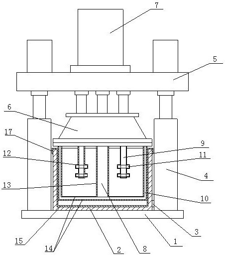
本实用新型硅酮胶生产设备技术领域,具体涉及一种设有PVC膜套的免清洗硅酮胶生产用分散机,包括底座,底座上设有料桶、液压缸和连接板,连接板底部连接密封盖,密封盖与料桶密封配合;连接盖上设有主轴和分散轴,主轴底部连接刮边桨,分散轴上设有分散盘;分散轴和分散盘上包覆有分散杆膜套,主轴上包覆有主轴膜套,刮边桨上包覆有刮边桨膜套,料桶内壁上设有料桶膜套,分散杆膜套、主轴膜套、刮边桨膜套和料桶膜套均为弹性PVC膜套。本实用新型避免了料桶内壁及搅拌器等部件与胶体的直接接触,省去了清洗环节,减少劳动力,提高生产效率,保障产品质量稳定,而且弹性PVC膜套可以重复利用,达到节能环保效果。


