授权公布号:CN214296562U
一种硅酮密封胶生产用灌装机
有效
申请
2020-12-24
申请公布
1970-01-01
授权
2021-09-28
预估到期
2030-12-24
| 申请号 | CN202023156394.X |
| 申请日 | 2020-12-24 |
| 授权公布号 | CN214296562U |
| 授权公告日 | 2021-09-28 |
| 分类号 | B65B7/28;B67C3/26;B65B39/12 |
| 分类 | 输送;包装;贮存;搬运薄的或细丝状材料; |
| 申请人名称 | 山东永安胶业有限公司 |
| 申请人地址 | 山东省潍坊市临朐七贤工贸园 |
专利法律状态
2021-09-28
授权
状态信息
授权
摘要
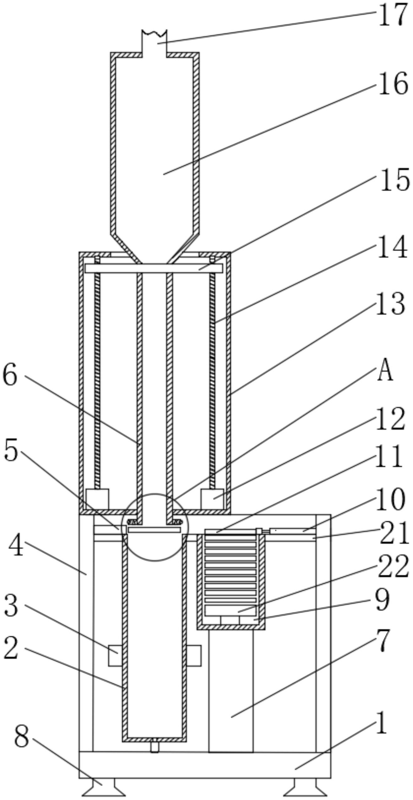
本实用新型公开了一种硅酮密封胶生产用灌装机,包括底座,所述底座的顶端固定连接在外框的底端,所述外框的顶端左侧固定连接在外壳的底端,所述底座的顶端中部靠右固定连接在第一伸缩杆的缸体底端,所述第一伸缩杆的缸体顶端设置有放置槽,所述第一伸缩杆的杆体顶端贯穿放置槽的底端并固定连接在第二平台的底端中部,所述放置槽的顶端固定连接在滑动台的中部右侧,所述滑动台的顶端右侧固定连接在第二伸缩杆的侧边。本实用新型中,通过在下料管口部设置活塞板和单向阀,使不需要其他设备便能直接将胶水灌入储胶瓶中,降低了设备的成本,另外瓶盖能被第一时间推至瓶体,减少了胶水与空气中水分的反应时间,减少了胶水的浪费,值得大力推广。


