授权公布号:CN215311242U
一种便携式甲醛治理装置
有效
申请
2021-02-01
申请公布
1970-01-01
授权
2021-12-28
预估到期
2031-02-01
| 申请号 | CN202120279161.4 |
| 申请日 | 2021-02-01 |
| 授权公布号 | CN215311242U |
| 授权公告日 | 2021-12-28 |
| 分类号 | B01D53/00;F24F8/20;F24F8/108;A61L9/18;A47L11/24 |
| 分类 | 一般的物理或化学的方法或装置; |
| 申请人名称 | 济南卓高建材有限公司 |
| 申请人地址 | 山东省济南市槐荫区绿地中央广场C-1地块14单元1406室 |
专利法律状态
2021-12-28
授权
状态信息
授权
摘要
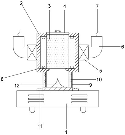
本实用新型公开了一种便携式甲醛治理装置,包括扫地机器人和处理箱,所述处理箱的两侧外壁底部通过螺钉固定有固定板,所述固定板的通过螺钉固定于扫地机器人的顶部外壁,所述处理箱的顶部外壁开设有插口,穿过插口在处理箱的内壁插接有滤芯,且插口的内壁通过螺纹连接有盖板,所述处理箱的内壁设置有消毒机构,且处理箱的两侧外壁设置有吹风机构,所述处理箱的两侧外壁开设有进气口,所述进气口的内壁通过螺钉固定有过滤网,所述处理箱的底部内壁设置有导流机构。本实用新型通过设置的导流板,导流板对进入的空气进行导流将空气集中到滤芯的下方,避免两端进入的空气相撞造成能量损失,保障处理设备能够高效的运行。


