授权公布号:CN211451204U
一种旋转空气净化屏蔽器
有效
申请
2019-09-20
申请公布
1970-01-01
授权
2020-09-08
预估到期
2029-09-20
| 申请号 | CN201921567078.6 |
| 申请日 | 2019-09-20 |
| 授权公布号 | CN211451204U |
| 授权公告日 | 2020-09-08 |
| 分类号 | F24F3/16 |
| 分类 | 供热;炉灶;通风; |
| 申请人名称 | 济南卓高建材有限公司 |
| 申请人地址 | 山东省济南市槐荫区绿地中央广场C-1地块14单元1406室 |
专利法律状态
2020-09-08
授权
状态信息
授权
摘要
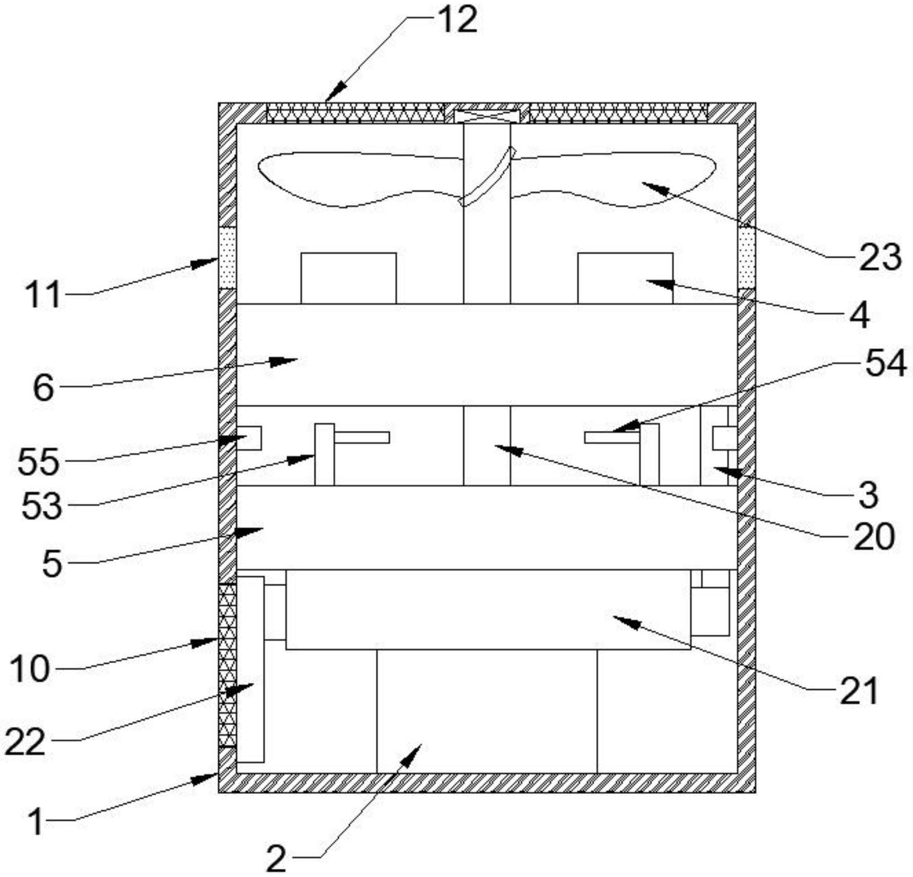
本实用新型公开了一种旋转空气净化屏蔽器,包括机盒主体,所述机盒主体内由下至上依次设有用于抽气的抽风机、用于过滤空气的滤网箱和用于鼓风的鼓风扇叶,所述滤网箱和所述鼓风扇叶之间设有多对屏蔽器,所述机盒主体的内壁上设有多个用于分别控制多对屏蔽器与电源连通的接触开关,所述滤网箱和所述抽风风道蜗壳之间设有多对用于触动接触开关的拨杆,所述拨杆通过固定在主驱动轴上的行星齿轮机构围绕主驱动轴公转的同时自转;本实用性将屏蔽器整体和用于净化空气的机盒主体有机的组合起来,净化空气同时还可以对屏蔽器进行散热和间隔控制工作的作用效果,可以有效防止屏蔽器长期不间断工作可能引起的超声波探头的损伤。


