授权公布号:CN209703959U
一种美缝剂施工用定向喷涂装置
有效
申请
2019-01-28
申请公布
1970-01-01
授权
2019-11-29
预估到期
2029-01-28
| 申请号 | CN201920141659.7 |
| 申请日 | 2019-01-28 |
| 授权公布号 | CN209703959U |
| 授权公告日 | 2019-11-29 |
| 分类号 | E04F21/165 |
| 分类 | 建筑物; |
| 申请人名称 | 济南卓高建材有限公司 |
| 申请人地址 | 山东省济南市槐荫区绿地中央广场C-1地块14单元1406室 |
专利法律状态
2019-11-29
授权
状态信息
授权
摘要
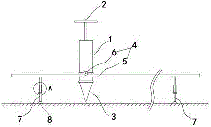
本实用新型涉及建筑器材领域,公开了一种美缝剂施工用定向喷涂装置,本实用新型提供一种美缝剂施工用定向喷涂装置,包括胶筒、胶筒设置有推进装置,胶筒一端连接注射头,胶筒还设置有定向平移装置,所述定向平移装置包括平行导轨、与平行导轨相配合的滑轮,滑轮固定设置于胶筒两侧;平行导轨下方设置支杆,支杆下端设置吸盘。本实用新型通过在胶筒设置定向平移装置,解决现有美缝剂手动施工对施工人员技能要求较高,易产生施工不精确导致美缝剂严重偏离瓷砖缝的问题。


