授权公布号:CN207478431U
一种绿色环保无机纳米复合贝壳粉涂料预混合设备
有效
申请
2017-10-26
申请公布
1970-01-01
授权
2018-06-12
预估到期
2027-10-26
| 申请号 | CN201721398183.2 |
| 申请日 | 2017-10-26 |
| 授权公布号 | CN207478431U |
| 授权公告日 | 2018-06-12 |
| 分类号 | B01F7/18;B01F3/20;B01F3/22 |
| 分类 | 一般的物理或化学的方法或装置; |
| 申请人名称 | 河南兰堡湾涂料科技有限公司 |
| 申请人地址 | 河南省商丘市永城市产业集聚区(经营地址:永城市东城区芒山路北段) |
专利法律状态
2018-06-12
授权
状态信息
授权
摘要
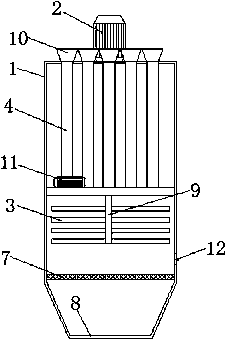
本实用新型公开了一种绿色环保无机纳米复合贝壳粉涂料预混合设备,包括壳体、搅拌电机、搅拌叶片、进料管、弹性杆、第一过滤网、第二过滤网和出料口,所述壳体上端设置有搅拌电机,所述搅拌电机通过联轴器连接有搅拌轴,所述搅拌轴上连接有若干搅拌叶片,所述壳体内部设置有进料管,所述进料管上端连接有进料斗,所述进料管下侧在壳体的内侧壁上连接有弹性杆,所述弹性杆有两个,且两个弹性杆之间连接有第一过滤网,所述搅拌叶片下侧在壳体的内壁上连接有第二过滤网,所述壳体底端设置有出料口。本实用新型设计合理,结构简单,在弹性杆上设置振动电机,可以保证吸附在第一过滤网上的粉料通过过滤网,使得原料不会产生浪费。


