授权公布号:CN219691005U
一种可移动式内墙涂料喷枪
有效
申请
2023-04-27
申请公布
1970-01-01
授权
2023-09-15
预估到期
2033-04-27
| 申请号 | CN202321002547.6 |
| 申请日 | 2023-04-27 |
| 授权公布号 | CN219691005U |
| 授权公告日 | 2023-09-15 |
| 分类号 | E04F21/12 |
| 分类 | 建筑物; |
| 申请人名称 | 河南兰堡湾涂料科技有限公司 |
| 申请人地址 | 河南省商丘市永城市产业集聚区上海路与磨山路交叉口 |
专利法律状态
2023-09-15
授权
状态信息
授权
摘要
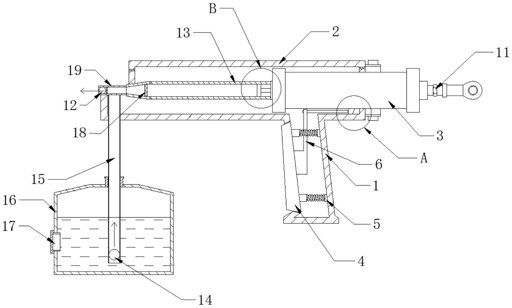
本实用新型公开了一种可移动式内墙涂料喷枪,涉及涂料喷枪技术领域,装置主体顶部设有顶盖,装置主体底部设有扳机,扳机内侧设有弹簧柱,且弹簧柱的右侧连接装置主体,并且扳机的内侧设有连接器,且连接器顶部设有传输轴,装置主体顶部与气缸进行连接,并且喷嘴内部设有第一单向阀,且滤嘴底部设有橡胶管,橡胶管底部与储料罐进行连接,且橡胶管底部设有第二单向阀。通过气缸、液压杆和喷气管等装置,在使用者按下扳机后,便可将储料罐中的涂料喷涂在墙上,且可以通过气缸来不断地往喷气管内灌入压力,使得涂料可以喷涂较远的内墙,同时也可使使用者在使用时可以方便的移动,大大提高了效率。


