授权公布号:CN215472107U
一种瓷砖粘贴剂生产用脱水混合装置
有效
申请
2021-07-29
申请公布
1970-01-01
授权
2022-01-11
预估到期
2031-07-29
| 申请号 | CN202121744018.4 |
| 申请日 | 2021-07-29 |
| 授权公布号 | CN215472107U |
| 授权公告日 | 2022-01-11 |
| 分类号 | B28C5/16;B28C5/46 |
| 分类 | 加工水泥、黏土或石料; |
| 申请人名称 | 陕西顶呱刮建材有限公司 |
| 申请人地址 | 陕西省西安市高新区锦业路1号绿地SOHO同盟A座1001室 |
专利法律状态
2022-01-11
授权
状态信息
授权
摘要
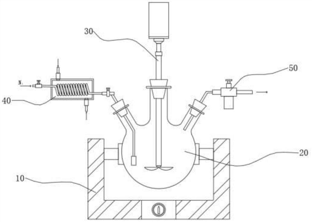
本实用新型涉及瓷砖粘贴剂生产设备技术领域,且公开了一种瓷砖粘贴剂生产用脱水混合装置,包括水浴加热装置,所述水浴加热装置的上方设有四口烧瓶,所述四口烧瓶的三个瓶口处分别设有搅拌装置、气热组件和排气组件;所述气热组件包括瓶塞一,所述瓶塞一的内部设有进气管,所述进气管的一端设有喷气头,所述进气管的另一端设有三通阀一;通过设置气热组件,在进行混合搅拌时,通过加热管向排气管内通入氮气,氮气再经过换热器内时被加热,使具有热量的氮气由进气管上的喷气头喷出,使氮气对四口烧瓶内的混合物进行同步加热搅拌,使内部混合物直接被氮气加热,实现内外温度一致,同时,实现提升混合物的脱水混合效率的目的。


