授权公布号:CN218597584U
一种装饰面的安装结构、轨道插座的安装结构
有效
申请
2022-10-20
申请公布
1970-01-01
授权
2023-03-10
预估到期
2032-10-20
| 申请号 | CN202222767829.7 |
| 申请日 | 2022-10-20 |
| 授权公布号 | CN218597584U |
| 授权公告日 | 2023-03-10 |
| 分类号 | E04F13/072;E04F13/23;E04F13/074;E04G21/14;E04G21/18;G06F30/13 |
| 分类 | 建筑物; |
| 申请人名称 | 汉尔姆建筑科技有限公司 |
| 申请人地址 | 浙江省杭州市临平区余杭经济技术开发区新纺路5号 |
专利法律状态
2023-03-10
授权
状态信息
授权
摘要
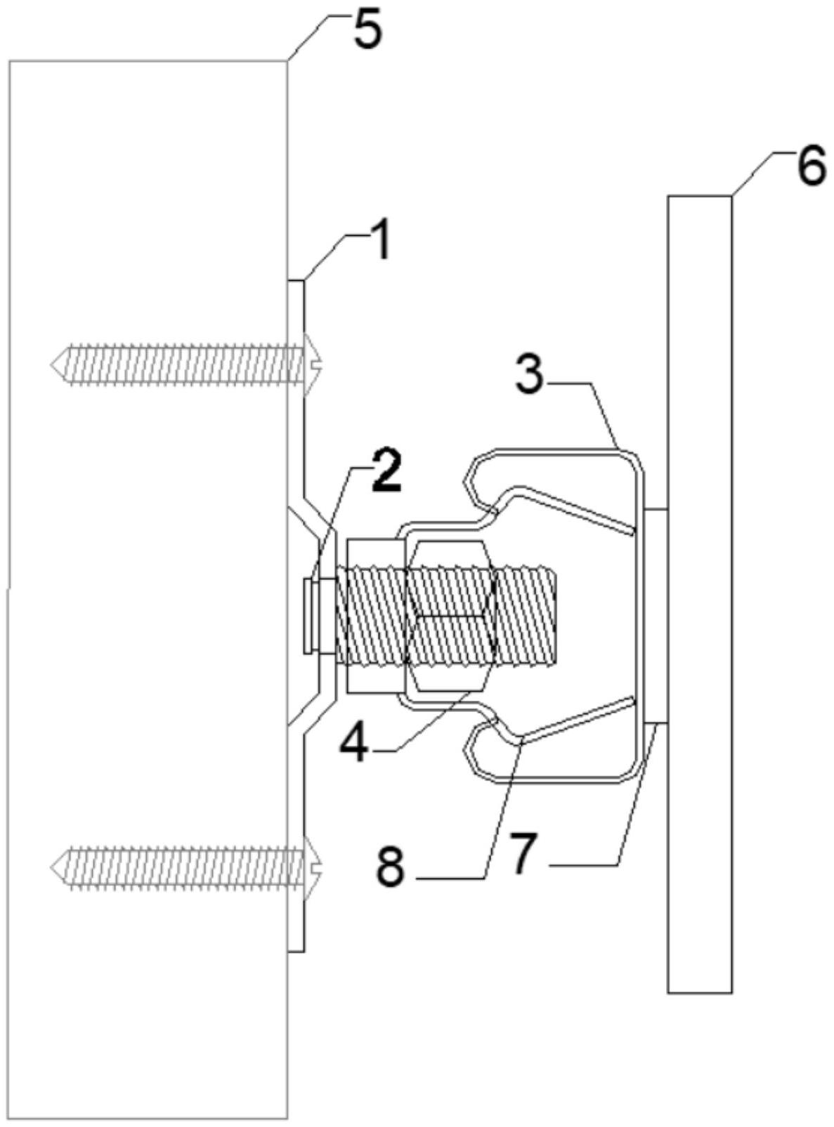
本实用新型公开了一种装饰面的安装结构,轨道插座的安装结构,装饰面的安装结构包括:装配件,用于安装装饰面;安装调节组件,固定于安装面,用于调节装饰面与安装面的距离;第一连接件,用于连接装配件和安装调节组件,所述第一连接件设有内螺纹;安装调节组件包括:安装座,安装座上设置有安装座通孔;调节杆,调节杆的第一长度端穿过安装座通孔与安装座可旋转连接;调节杆的第二长度端上设置外螺纹,外螺纹与内螺纹配合,使装饰面沿调节杆直线运动。该安装结构整体结构紧凑,占用位置少,能够同时实现基于安装面的水平方向的调节和安装深度的调节,且对大部分既有混凝土墙、砌块墙等适用。


