授权公布号:CN217518458U
一种复合型地弹簧暗装可调支架
有效
申请
2022-03-30
申请公布
1970-01-01
授权
2022-09-30
预估到期
2032-03-30
| 申请号 | CN202220716390.2 |
| 申请日 | 2022-03-30 |
| 授权公布号 | CN217518458U |
| 授权公告日 | 2022-09-30 |
| 分类号 | E05D7/04;E05D7/081;E05F3/20 |
| 分类 | 锁;钥匙;门窗零件;保险箱; |
| 申请人名称 | 汉尔姆建筑科技有限公司 |
| 申请人地址 | 浙江省杭州市临平区余杭经济技术开发区新纺路5号 |
专利法律状态
2022-09-30
授权
状态信息
授权
2022-03-30
公布
状态信息
公布
摘要
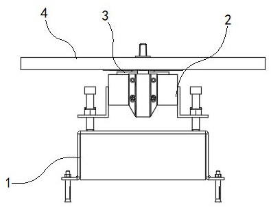
一种复合型地弹簧暗装可调支架,包括暗装底座、高度调节支架和装饰盖板组件,高度调节支架可调式安装在暗装底座上,高度调节支架内安装有高度调节螺杆,装饰盖板组件盖设在高度调节支架上,通过高度调节螺杆调节高度调节支架的相对高度,从而对地弹簧的相对高度进行调节,调节方式简单,调节稳定性更高,大大提高本调节支架的调节效率。


