授权公布号:CN209556179U
一种用于隔断铝型材与铁饰面连接件
有效
申请
2018-12-13
申请公布
1970-01-01
授权
2019-10-29
预估到期
2028-12-13
| 申请号 | CN201822095580.3 |
| 申请日 | 2018-12-13 |
| 授权公布号 | CN209556179U |
| 授权公告日 | 2019-10-29 |
| 分类号 | E04B2/82;E04B2/78 |
| 分类 | 建筑物; |
| 申请人名称 | 马尔斯隔断系统(苏州)有限公司 |
| 申请人地址 | 江苏省苏州市昆山市千灯镇玉溪路南侧 |
专利法律状态
2019-10-29
授权
状态信息
授权
摘要
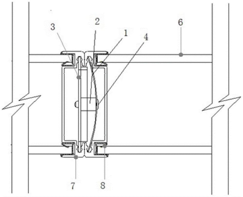
本实用新型公开了一种用于隔断铝型材与铁饰面连接件,其包括弹簧片、套筒、U型片以及铆钉,其中所述弹簧片通过铆钉穿过所述套筒安装在所述套筒一端,所述U型片安装在所述套筒的另一端,所述套筒通过所述铆钉安装在所述弹簧片和所述U型片的中间,所述弹簧片和U型片均能够在垂直于所述套筒的平面中旋转,所述U型片的两端是螺旋状尖角形。本实用新型的用于铝合金玻璃模块连接的弹簧夹安装速度快,可随时调换实体模块的位置,重新组合利用,对环境不会造成污染,真正做到了绿色,环保,同时具有防火性,施工噪音小。


