授权公布号:CN207905176U
一种用于移动隔断墙体的可调节支撑装置
有效
申请
2018-02-05
申请公布
1970-01-01
授权
2018-09-25
预估到期
2028-02-05
| 申请号 | CN201820189600.0 |
| 申请日 | 2018-02-05 |
| 授权公布号 | CN207905176U |
| 授权公告日 | 2018-09-25 |
| 分类号 | E04B2/74 |
| 分类 | 建筑物; |
| 申请人名称 | 马尔斯隔断系统(苏州)有限公司 |
| 申请人地址 | 江苏省苏州市昆山市千灯镇玉溪路南侧 |
专利法律状态
2018-09-25
授权
状态信息
授权
摘要
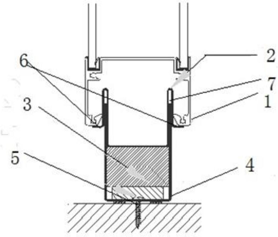
本实用新型公开了一种用于移动隔断墙体的可调节支撑装置,其包括支撑轨、调节契块、地面轨道、隔断窗框以及固定螺丝,其中所述地面轨道呈U形,并通过固定螺丝固定安装在地面上,所述支撑轨呈倒几字形,所述支撑轨正好扣合在所述地面轨道上,所述调节楔块设置在所述地面轨道的U形轨道内,并位于所述支撑轨的下面顶触所述支撑轨,所述隔断窗框安装设置在所述支撑轨的两侧耳上。本实用新型的用于移动隔断墙体的可调节支撑装置可根据实际需要选择调整安装高度,且卡扣方式方便安装拆卸,取材范围广,安全可靠,固定性能好,检修方便。


