授权公布号:CN212818547U
自动反冲洗装置
有效
申请
2020-06-12
申请公布
1970-01-01
授权
2021-03-30
预估到期
2030-06-12
| 申请号 | CN202021080286.6 |
| 申请日 | 2020-06-12 |
| 授权公布号 | CN212818547U |
| 授权公告日 | 2021-03-30 |
| 分类号 | B01D35/16 |
| 分类 | 一般的物理或化学的方法或装置; |
| 申请人名称 | 浙江金泰泳池环保设备有限公司 |
| 申请人地址 | 浙江省绍兴市上虞区百官街道财富路19号 |
专利法律状态
2021-03-30
授权
状态信息
授权
摘要
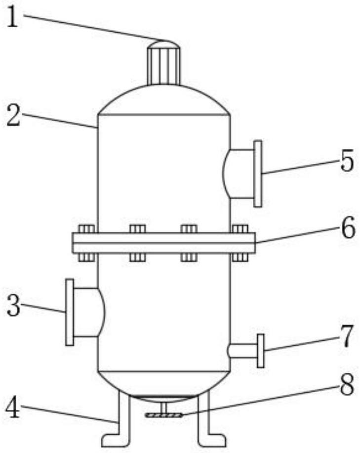
本实用新型公开了自动反冲洗装置,包括冲洗舱体,所述冲洗舱体一端固定安装有电力马达,所述冲洗舱体另一端固定安装有活动舱盖,所述冲洗舱体另一端位于活动舱盖边沿固定安装有固定支脚,所述冲洗舱体上固定安装有连接法兰,所述连接法兰一侧固定安装有出水口,所述连接法兰另一侧固定安装有进水口,所述冲洗舱体表面固定安装有污水出口,所述冲洗舱体内固定安装有细滤网,所述冲洗舱体内位于电力马达的输出端上固定安装有清理机构。本实用新型所述的自动反冲洗装置,能够通过清理机构对冲洗舱体内部进行清理,从而防止水垢在冲洗舱体内形成,同时在冲洗舱体底部设置活动舱盖可以方便将堆积的泥沙清理干净。


