授权公布号:CN212715276U
一种溢水沟盖板
有效
申请
2020-06-12
申请公布
1970-01-01
授权
2021-03-16
预估到期
2030-06-12
| 申请号 | CN202021080291.7 |
| 申请日 | 2020-06-12 |
| 授权公布号 | CN212715276U |
| 授权公告日 | 2021-03-16 |
| 分类号 | E03F5/06 |
| 分类 | 给水;排水; |
| 申请人名称 | 浙江金泰泳池环保设备有限公司 |
| 申请人地址 | 浙江省绍兴市上虞区百官街道财富路19号 |
专利法律状态
2021-03-16
授权
状态信息
授权
摘要
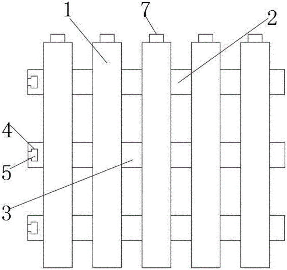
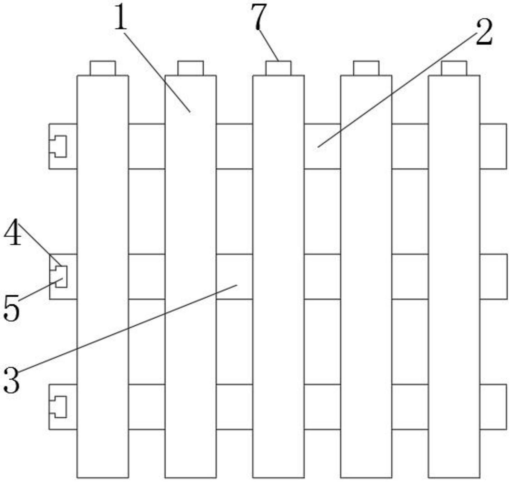
本实用新型公开了一种溢水沟盖板,括踩踏板,所述踩踏板的底部固定安装有第一连接杆和第二连接杆,所述第一连接杆和第二连接杆的两端均设有拼接机构,所述拼接机构通过T形拼接槽和T形拼接块组成,所述踩踏板的顶端设有防晃动机构,所述防晃动机构包括有防晃动推柱、弹簧槽和推进弹簧,所述踩踏板的底部固定安装有支撑条,所述支撑条的底部固定安装有固定座,所述固定座的底部固定安装有隔震垫,所述T形拼接槽开设在第二连接杆的一端上表面。本实用新型所述的一种溢水沟盖板,能够方便拼接,并且拼接后的稳定性更高,其次能够避免溢水沟盖板在溢水沟内晃动,进一步提高稳定性,实用性更高。


