授权公布号:CN210925473U
一种溢流回水口消声器
有效
申请
2019-09-30
申请公布
1970-01-01
授权
2020-07-03
预估到期
2029-09-30
| 申请号 | CN201921662734.0 |
| 申请日 | 2019-09-30 |
| 授权公布号 | CN210925473U |
| 授权公告日 | 2020-07-03 |
| 分类号 | G10K11/16;E04H4/12 |
| 分类 | 乐器;声学; |
| 申请人名称 | 浙江金泰泳池环保设备有限公司 |
| 申请人地址 | 浙江省绍兴市上虞区百官街道财富路19号 |
专利法律状态
2020-07-03
授权
状态信息
授权
摘要
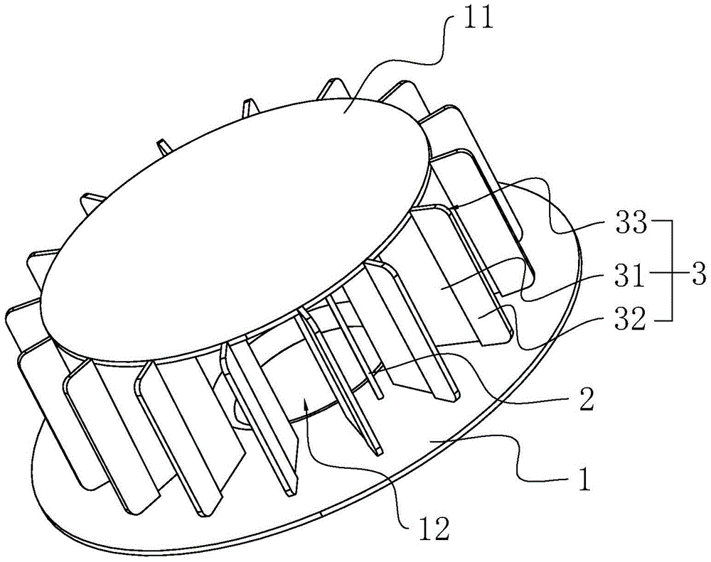
本实用新型涉及一种溢流回水口消声器,属于消声器的技术领域,包括下底板和上盖板,所述下底板和所述上盖板之间周向夹持有多个隔水叶片,其中所述下底板上开设有水流通孔,所述下底板和所述上盖板通过紧固件紧固相连并对所述隔水叶片形成夹持。本实用新型具有能够降低溢流回水过程中的跌水噪音的效果。


