授权公布号:CN215387776U
硅藻土过滤器的反冲装置
有效
申请
2021-06-18
申请公布
1970-01-01
授权
2022-01-04
预估到期
2031-06-18
| 申请号 | CN202121359457.3 |
| 申请日 | 2021-06-18 |
| 授权公布号 | CN215387776U |
| 授权公告日 | 2022-01-04 |
| 分类号 | B01D24/46 |
| 分类 | 一般的物理或化学的方法或装置; |
| 申请人名称 | 浙江金泰泳池环保设备有限公司 |
| 申请人地址 | 浙江省绍兴市上虞区百官街道财富路19号 |
专利法律状态
2022-01-04
授权
状态信息
授权
摘要
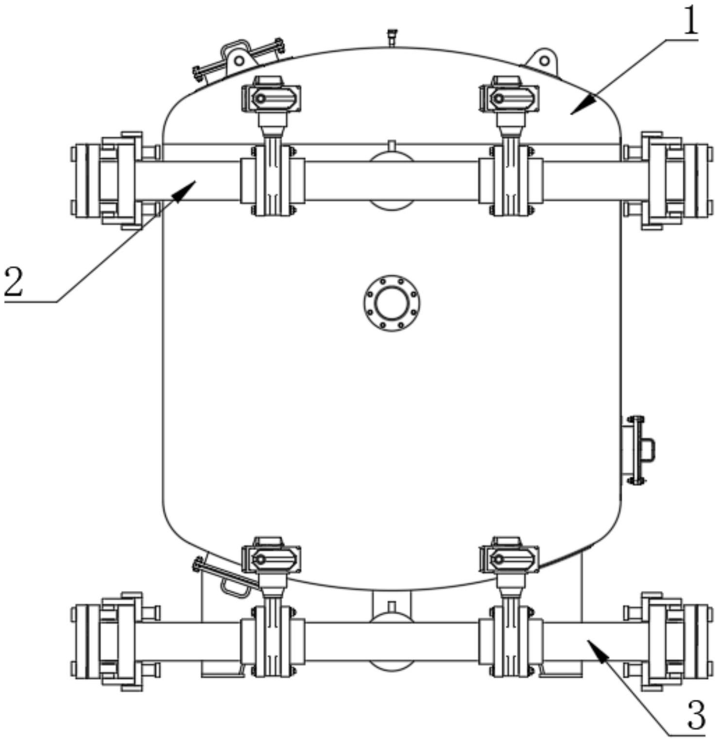
本实用新型公开了硅藻土过滤器的反冲装置,包括反冲罐本体,所述反冲罐本体上设有出气管和出水管,所述出气管和出水管的一端均固定连接有第一安装连接环,所述第一安装连接环的一侧设有第二安装连接环,所述第二安装连接环远离第一安装连接环的一侧设有两个第一限位板,所述第一限位板靠近第二安装连接环的一侧固定连接有插板,所述插板的一端分别贯穿第二安装连接环和第一安装连接环,所述插板上开设有定位孔,所述出气管和出水管上均套设有固定环,所述固定环的顶端和底端均设有弧形板。本实用新型所述的硅藻土过滤器的反冲装置,属于硅藻土过滤器技术领域,可以简单便捷的完成出气管和出水管与外部连接管的安装,操作步骤简单便捷。


