授权公布号:CN219112813U
大功率低速柴油机厚壁瓦白合金浇铸专用设备
有效
申请
2022-09-26
申请公布
1970-01-01
授权
2023-06-02
预估到期
2032-09-26
| 申请号 | CN202222553999.5 |
| 申请日 | 2022-09-26 |
| 授权公布号 | CN219112813U |
| 授权公告日 | 2023-06-02 |
| 分类号 | B22C9/06;B22D27/04 |
| 分类 | 铸造;粉末冶金; |
| 申请人名称 | 大连船用柴油机有限公司 |
| 申请人地址 | 辽宁省大连市西岗区海防街1-2号 |
专利法律状态
2023-06-02
授权
状态信息
授权
摘要
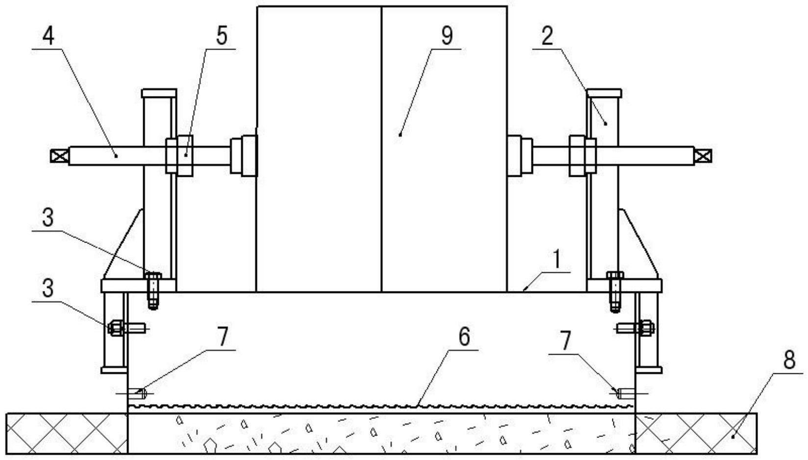
本发明的大功率低速柴油机厚壁瓦白合金浇铸专用设备,有基座(1),基座两边对称位置上方设置支撑装置(2),支撑装置(2)采用连接装置(3)与基座(1)固定连接,特别是两个对称设置的支撑装置(2)的竖向带有滑槽,滑槽配合有滑动装置(5),滑动装置带有螺孔,螺孔配合有螺杆形成锁紧装置。具有双向行程高度可调节的锁紧装置(4),锁紧装置(4)利用滑动装置(5)在支撑装置(2)实现高度自由调节,实现与厚壁瓦(9)重心高度一致,使其平稳不会出现底部倾斜,防止白合金泄漏。锁紧装置(4)可以双向伸缩,实现不同直径厚壁瓦(9)的夹紧。


