授权公布号:CN212271884U
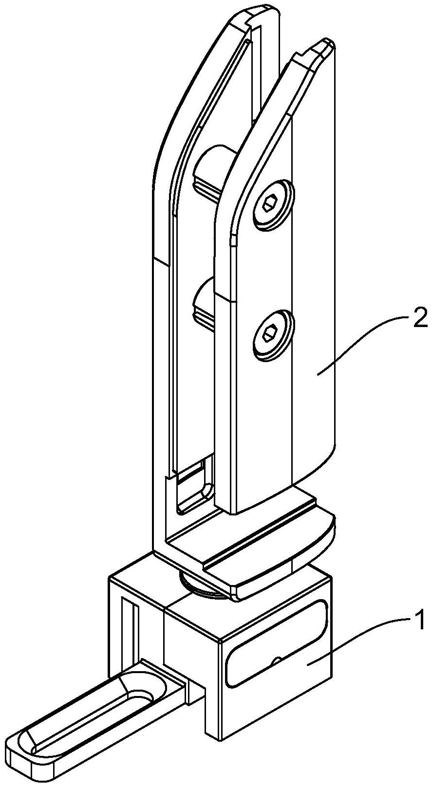
一种新型淋浴房转轴结构
有效
申请
2020-03-18
申请公布
1970-01-01
授权
2021-01-01
预估到期
2030-03-18
| 申请号 | CN202020347921.6 |
| 申请日 | 2020-03-18 |
| 授权公布号 | CN212271884U |
| 授权公告日 | 2021-01-01 |
| 分类号 | E05D7/081 |
| 分类 | 锁;钥匙;门窗零件;保险箱; |
| 申请人名称 | 中山市圣莉亚洁具有限公司 |
| 申请人地址 | 广东省中山市阜沙镇上南村(中山市南头镇利海塑料五金电器厂厂房一楼) |
专利法律状态
2021-01-01
授权
状态信息
授权
摘要
本实用新型涉及一种新型淋浴房转轴结构,包括转轴座和用于固定安装在活动玻璃门上的转轴芯组件,所述的转轴芯组件的底部设置有转轴芯,所述的转轴座上设置有供转轴芯插入的圆柱腔,所述的转轴芯与圆柱腔之间设置有可自由活动的钢球。本实用新型的转轴结构,利用转轴座和转轴芯组件通过钢球配合,减小了淋浴房产品在开关活动门时的启闭力,让其在开关使用时手感轻盈、灵活顺畅,提高了产品使用时的体验感和舒适性;降低了转轴在使用过程中的磨损,延长了产品的有效使用周期,提高了产品的使用寿命。


