授权公布号:CN212271878U
一种带新型定位结构的转轴
有效
申请
2020-03-18
申请公布
1970-01-01
授权
2021-01-01
预估到期
2030-03-18
| 申请号 | CN202020347275.3 |
| 申请日 | 2020-03-18 |
| 授权公布号 | CN212271878U |
| 授权公告日 | 2021-01-01 |
| 分类号 | E05D3/02;E05D5/02;E05D11/10 |
| 分类 | 锁;钥匙;门窗零件;保险箱; |
| 申请人名称 | 中山市圣莉亚洁具有限公司 |
| 申请人地址 | 广东省中山市阜沙镇上南村(中山市南头镇利海塑料五金电器厂厂房一楼) |
专利法律状态
2021-01-01
授权
状态信息
授权
摘要
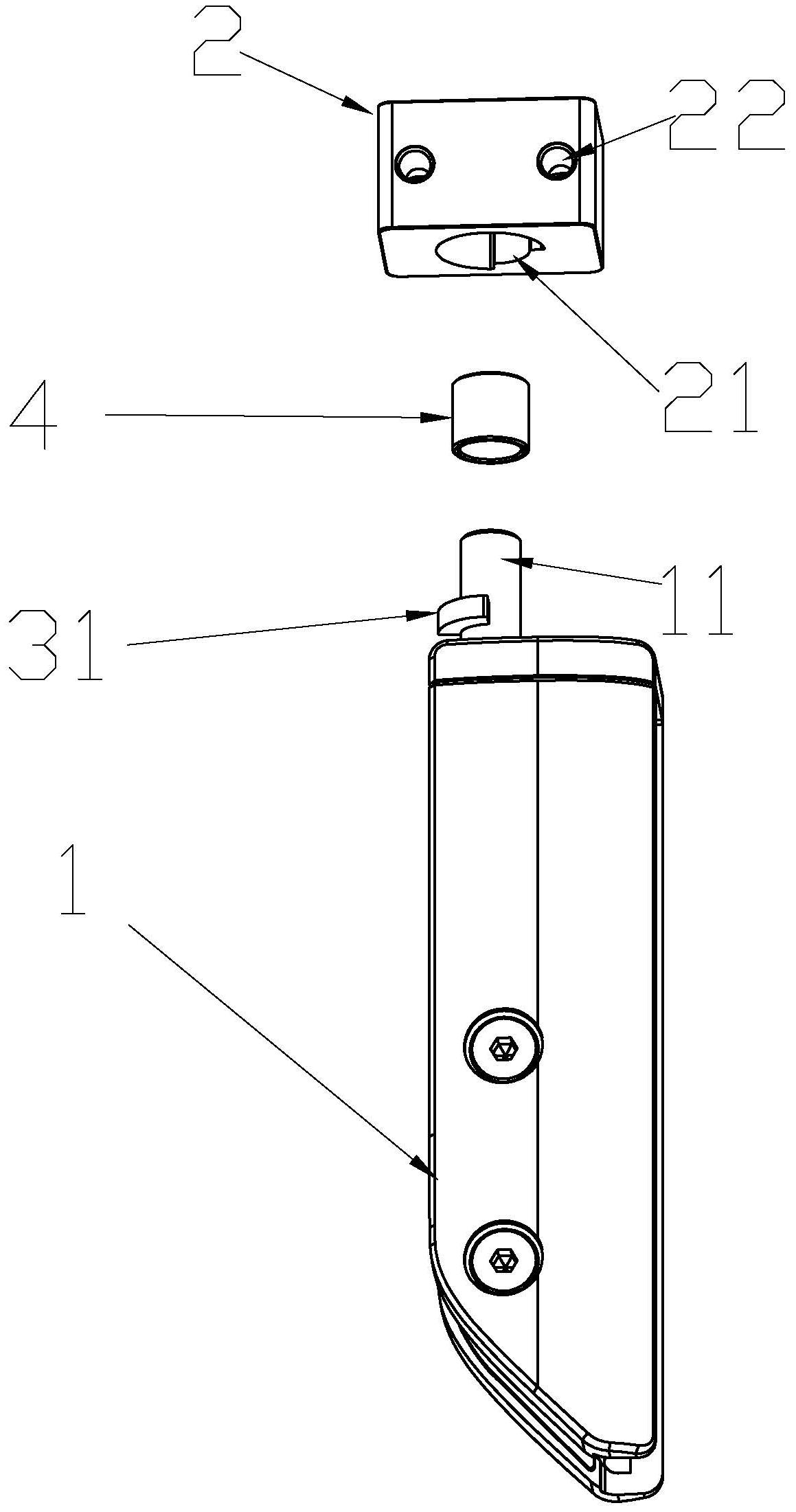
本实用新型涉及一种带新型定位结构的转轴,包括转轴芯组件以及与转轴芯组件配合使用的转轴座,所述的转轴芯组件的底部设置有与转轴座活动连接的转轴芯,所述的转轴芯与转轴座的接触面上设置有双向定位结构。本实用新型的转轴,定位角度精确、定位功能长期稳定、能提高生产效率与降低生产成本,并且同时具有内外90度双向定位功能。


