授权公布号:CN219138638U
一种带有止转结构的拉手
有效
申请
2023-01-04
申请公布
1970-01-01
授权
2023-06-06
预估到期
2033-01-04
| 申请号 | CN202320040091.6 |
| 申请日 | 2023-01-04 |
| 授权公布号 | CN219138638U |
| 授权公告日 | 2023-06-06 |
| 分类号 | E05B1/00 |
| 分类 | 锁;钥匙;门窗零件;保险箱; |
| 申请人名称 | 中山市圣莉亚洁具有限公司 |
| 申请人地址 | 广东省中山市阜沙镇上南村阜发路19号 |
专利法律状态
2023-06-06
授权
状态信息
授权
摘要
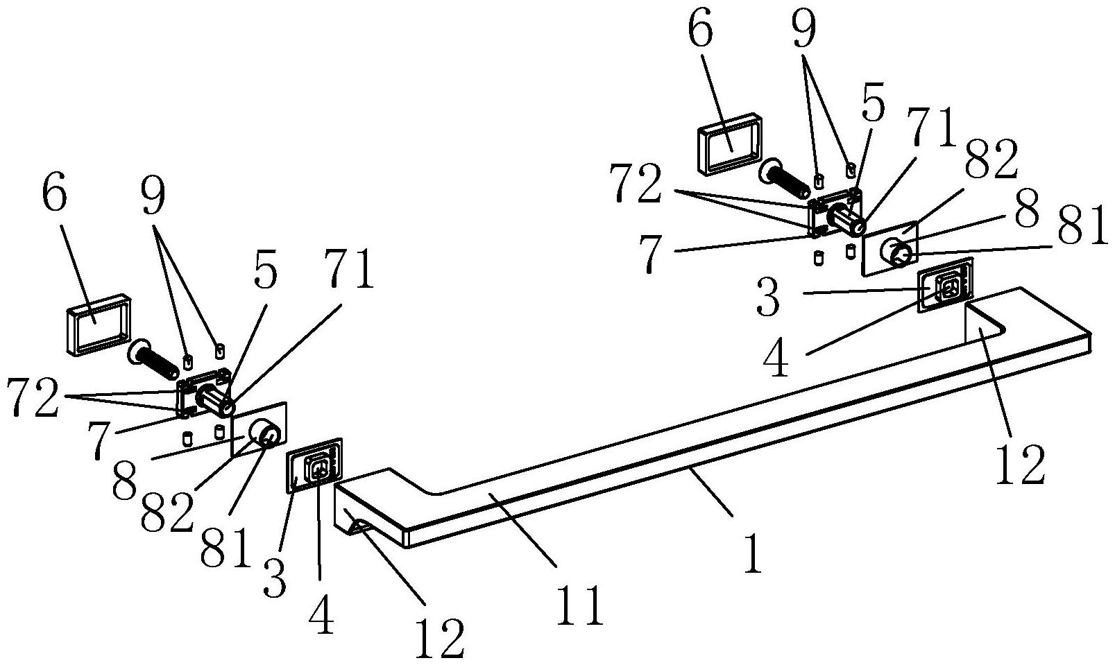
本实用新型公开了一种带有止转结构的拉手,包括有活动连接的拉手主体和安装组件,所述拉手主体包括握持部和位于所述握持部两端的连接部,所述连接部上连接有连接垫片,所述连接垫片上开设有止转连接孔,所述安装组件上设置有与所述止转连接孔匹配的止转连接柱,本实用新型在拉手主体的连接垫片上开设有止转连接孔,在与拉手主体连接的安装组件上设置有与止转连接孔匹配的止转连接柱,在安装组件将拉手主体安装在淋浴门玻璃上时,止转连接柱与止转连接孔匹配连接,在安装锁紧过程中不会随着螺栓转动,避免安装过程中出现划伤手的现象,并且能保证安装完成后安装组件与安装主体的边角对齐。


