授权公布号:CN209398116U
自润滑淋浴房合页
有效
申请
2018-10-30
申请公布
1970-01-01
授权
2019-09-17
预估到期
2028-10-30
| 申请号 | CN201821787146.5 |
| 申请日 | 2018-10-30 |
| 授权公布号 | CN209398116U |
| 授权公告日 | 2019-09-17 |
| 分类号 | E05D3/02;E05D5/00;E05D5/14;E05D11/02 |
| 分类 | 锁;钥匙;门窗零件;保险箱; |
| 申请人名称 | 中山市圣莉亚洁具有限公司 |
| 申请人地址 | 广东省中山市阜沙镇上南村(中山市南头镇利海塑料五金电器厂厂房一楼) |
专利法律状态
2019-09-17
授权
状态信息
授权
摘要
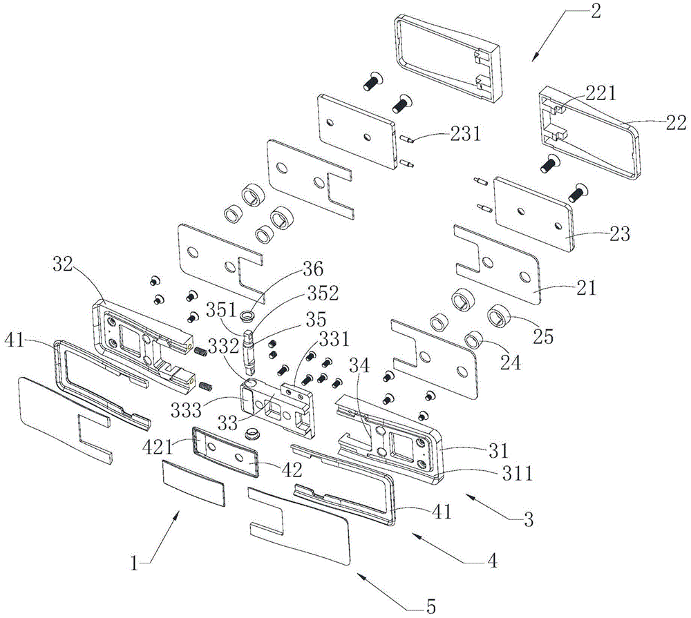
本实用新型提供一种自润滑淋浴房合页,包括用于固定于淋浴房外一侧的前盖和用于固定于淋浴房内一侧的后盖,所述前盖和所述后盖固定连接,所述前盖包括用于固定于淋浴房主体的固定部、用于固定于淋浴房门扇的活动部,以及用于连接所述固定部和所述活动部的连接部,所述连接部的一端固定于所述固定部,另一端转动连接有转轴,所述转轴的两端卡嵌于所述活动部,所述连接部与所述转轴之间设置有转轴套,所述转轴套由固体自润滑材料制成。通过在转轴和连接部之间设置转轴套能减少转轴与连接部之间的磨损,进而有利于保证合页的正常工作,同时增加了该合页的使用寿命。


