授权公布号:CN216239351U
一种可拼装的淋浴房支撑杆结构
有效
申请
2021-10-30
申请公布
1970-01-01
授权
2022-04-08
预估到期
2031-10-30
| 申请号 | CN202122630052.5 |
| 申请日 | 2021-10-30 |
| 授权公布号 | CN216239351U |
| 授权公告日 | 2022-04-08 |
| 分类号 | E04C3/00;E04B1/58 |
| 分类 | 建筑物; |
| 申请人名称 | 中山德立洁具有限公司 |
| 申请人地址 | 广东省中山市阜沙镇上南村 |
专利法律状态
2022-04-08
授权
状态信息
授权
摘要
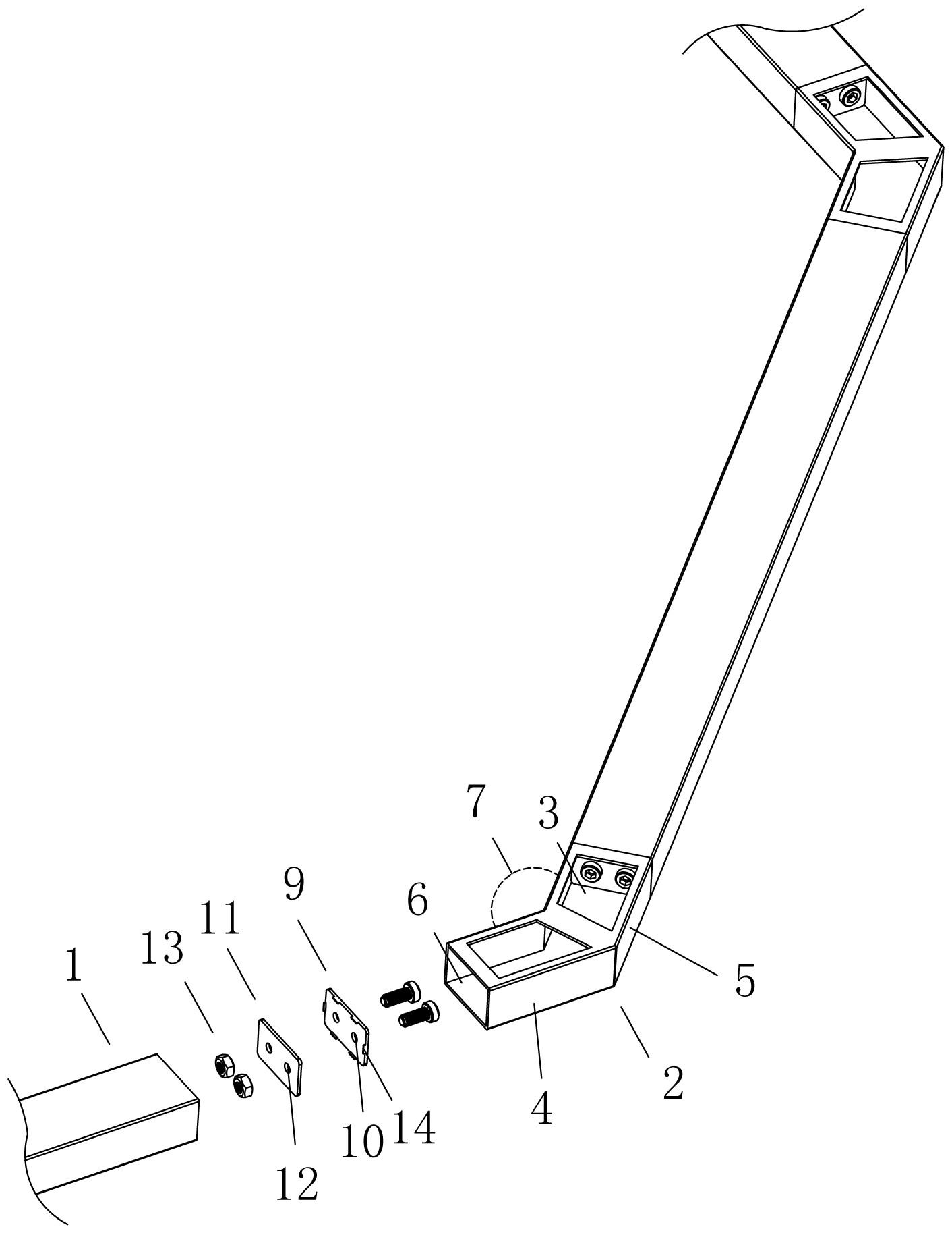
本实用新型公开了一种可拼装的淋浴房支撑杆结构,包括支杆和联接件,联接件为中空结构,联接件设置有装配窗、第一联接臂和第二联接臂,第一联接臂的末端设置有与支杆相适配的接口,接口与支杆之间通过螺栓连接,第二联接臂的结构与第一联接臂相同,联接件的第一联接臂和第二联接臂能通过螺栓与支杆实观现场拼接,生产组装简单,且两者的接缝小、整体美观,接连可靠稳固。


