授权公布号:CN217300429U
一种防夹手的段滑门
有效
申请
2021-12-31
申请公布
1970-01-01
授权
2022-08-26
预估到期
2031-12-31
| 申请号 | CN202123428156.4 |
| 申请日 | 2021-12-31 |
| 授权公布号 | CN217300429U |
| 授权公告日 | 2022-08-26 |
| 分类号 | E06B11/02;E06B7/28;E05F15/42;E01F13/04;G08G1/017 |
| 分类 | 一般门、窗、百叶窗或卷辊遮帘;梯子; |
| 申请人名称 | 佛山市勇创门业科技有限公司 |
| 申请人地址 | 广东省佛山市南海区丹灶镇东联金城工业区徐环英厂房之一 |
专利法律状态
2022-08-26
授权
状态信息
授权
摘要
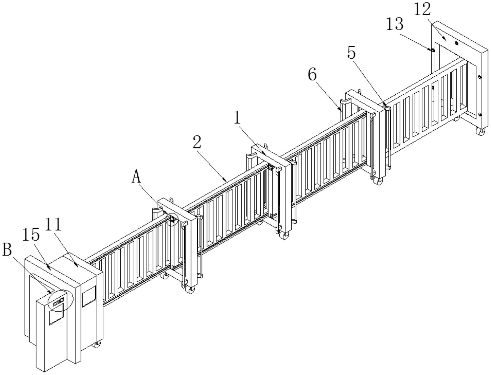
本实用新型公开了一种防夹手的段滑门,包括:架杆,所述架杆的左侧设置有尾箱,且架杆的右侧设置有动力箱,所述架杆的内侧连接有第一轴杆,且第一轴杆上设置有第一支杆和第二支杆,所述第一支杆和第二支杆的交接处通过第二轴杆连接;固定套,所述固定套设置在架杆的内侧,且固定套的内部设置有连接轴,所述连接轴的内侧设置有挡块,且连接轴的后侧安装有齿轮,所述齿轮的右侧设置有齿条,且齿条的下方连接有弹簧,所述导筒的内侧连接有气管,且气管的顶端连接有气囊,所述气囊设置在第一支杆和第二支杆连接处的顶端。该防夹手的段滑门,将架杆间隔设置,避免架杆将手指夹伤,且能够将挡块收缩,增加该段滑门的美感。


