授权公布号:CN216553516U
一种段滑式直线门的滑动连接结构
有效
申请
2021-10-28
申请公布
1970-01-01
授权
2022-05-17
预估到期
2031-10-28
| 申请号 | CN202122635320.2 |
| 申请日 | 2021-10-28 |
| 授权公布号 | CN216553516U |
| 授权公告日 | 2022-05-17 |
| 分类号 | E05F15/638 |
| 分类 | 锁;钥匙;门窗零件;保险箱; |
| 申请人名称 | 佛山市勇创门业科技有限公司 |
| 申请人地址 | 广东省佛山市南海区丹灶镇东联金城工业区徐环英厂房之一 |
专利法律状态
2022-05-17
授权
状态信息
授权
摘要
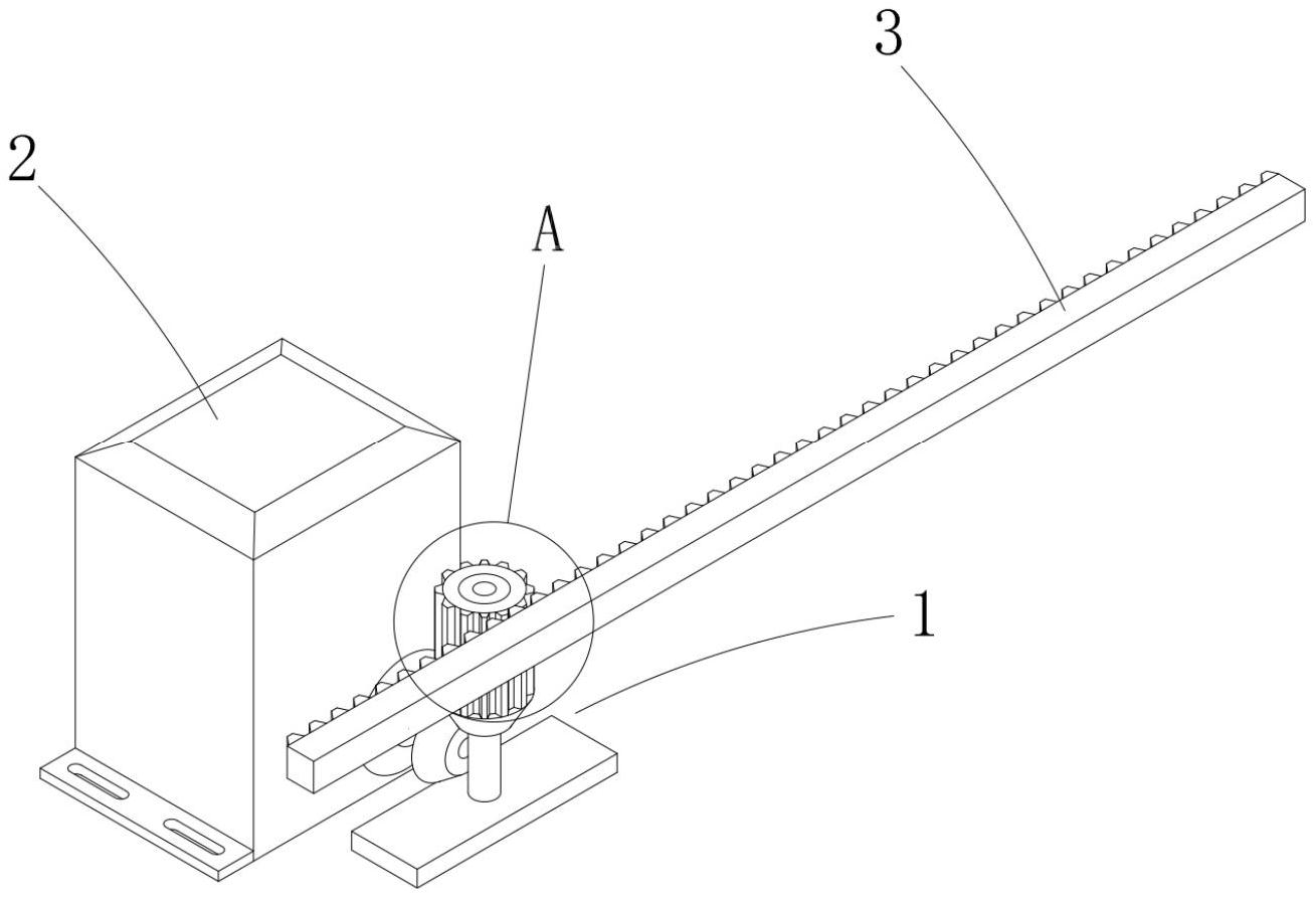
本实用新型公开了一种段滑式直线门的滑动连接结构,包括传动件、驱动电机和门体导向杆,所述传动件包括第一齿轮部和第二齿轮部,所述驱动电机的转动端设有第三齿轮部,所述第三齿轮部传动连接所述第一齿轮部,所述门体导向杆的一侧面沿长度方向设有齿轮条,所述齿轮条传动连接所述第二齿轮部,所述第二齿轮部的高度为齿轮条的高度两倍以上,通过将传动件采用第一齿轮部和第二齿轮部,第一齿轮部用于传动连接驱动装置驱动电机,第二齿轮部用于传动连接门体导向杆,而第二齿轮部的齿轮高度为门体导向杆上齿轮条高度两倍以上,在地面不平的情况下,门体导向杆仍然保持直线移动,不会轻易脱离出传动件。


