授权公布号:CN212054446U
一种拼装式及隐藏电机的电动小门
有效
申请
2019-12-28
申请公布
1970-01-01
授权
2020-12-01
预估到期
2029-12-28
| 申请号 | CN201922407767.7 |
| 申请日 | 2019-12-28 |
| 授权公布号 | CN212054446U |
| 授权公告日 | 2020-12-01 |
| 分类号 | E06B11/02 |
| 分类 | 一般门、窗、百叶窗或卷辊遮帘;梯子; |
| 申请人名称 | 佛山市圣田智能科技有限公司 |
| 申请人地址 | 广东省佛山市南海区狮山镇罗村下柏村委会下柏工业大道33号台日电梯有限公司车间 |
专利法律状态
2020-12-01
授权
状态信息
授权
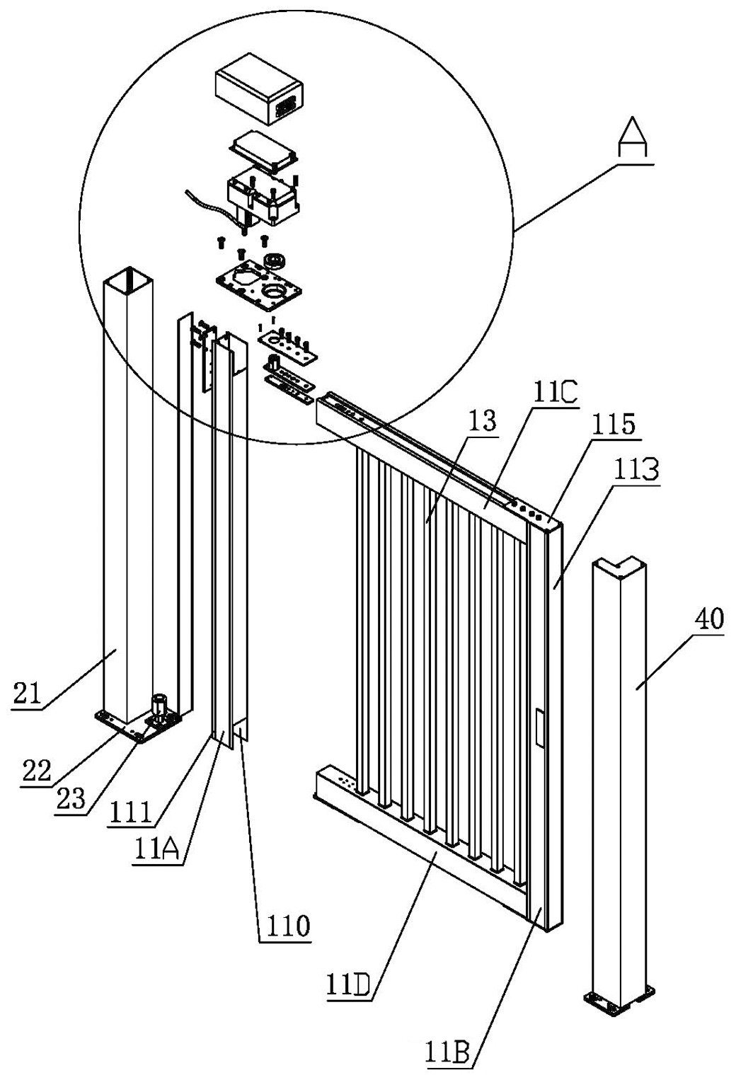
摘要
一种拼装式及隐藏电机的电动小门,包括门体、主门柱、电机组件,门体框架由具有内腔中空且两端部开口的长方体金属型材的各个边框紧固连接组成,左、右边框的各端部向内侧侧壁上设有与上、下边框的外表横截宽度匹配的开口部,上、下边框的各端部以垂直角度分别完全嵌入相对应的左、右边框的开口部内,螺钉穿过左、右边框外侧壁与上、下边框的两端口处内壁每个角位都固设有的螺钉固定孔套紧固连接;电动机置于主立柱上部空腔内,电动机的输出轴伸入减速齿轮箱与初级齿轮嵌合,末级齿轮的输出主轴向下伸出并与上门轴匹配卡合连接;本实用新型采取全独立型材制造、运输、易于拼装,并结构牢固可靠,且驱动电机采用隐藏式设计,获得更高的门体高度。


