授权公布号:CN215979027U
一种铝型材衣柜推拉门
有效
申请
2021-10-14
申请公布
1970-01-01
授权
2022-03-08
预估到期
2031-10-14
| 申请号 | CN202122469501.2 |
| 申请日 | 2021-10-14 |
| 授权公布号 | CN215979027U |
| 授权公告日 | 2022-03-08 |
| 分类号 | E06B3/46;E06B3/48;A47B61/00;A47B97/00;B01D49/00;A61L9/01 |
| 分类 | 一般门、窗、百叶窗或卷辊遮帘;梯子; |
| 申请人名称 | 重庆西拓金属制品有限公司 |
| 申请人地址 | 重庆市潼南区小渡镇刘家村3社 |
专利法律状态
2022-03-08
授权
状态信息
授权
摘要
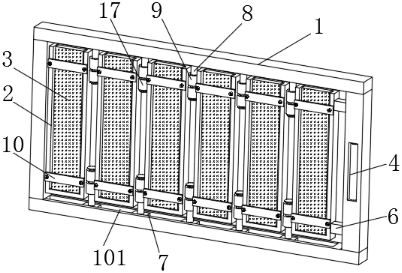
本实用新型公开了一种铝型材衣柜推拉门,涉及推拉门技术领域,本实用新型包括边框和安装槽,边框的上下内侧面开设有滑槽,滑槽内滑动连接有多个滑动块,滑动块的底端固定连接有连接轴,连接轴上转动连接有第一转接筒和第二转接筒,第一转接筒和第二转接筒的一侧均固定连接有安装槽,安装槽的内部放置有门板,安装槽的正面通过螺钉安装有定位板,边框的一侧面开设有一对对称的锁槽,锁槽之间通过连通槽连通,连通槽的正面开设有安装口。本实用新型一种铝型材衣柜推拉门,通过推动门板运动,使得安装槽转动相互堆叠,进而使得门板相互堆叠,实现打开推拉门的功能,通过微型电机驱动活塞往复运动,在除尘网的作用下实现衣柜的除尘功能。


