授权公布号:CN205824115U
推力轴承装配组件、变速箱及汽车
有效
申请
2016-03-09
申请公布
1970-01-01
授权
2016-12-21
预估到期
2026-03-09
| 申请号 | CN201620180092.0 |
| 申请日 | 2016-03-09 |
| 授权公布号 | CN205824115U |
| 授权公告日 | 2016-12-21 |
| 分类号 | F16H57/021;F16C19/00;F16C35/04 |
| 分类 | 工程元件或部件;为产生和保持机器或设备的有效运行的一般措施;一般绝热; |
| 申请人名称 | 内蒙古欧意德发动机有限公司 |
| 申请人地址 | 内蒙古自治区鄂尔多斯市东胜康巴什新区 |
专利法律状态
2022-11-11
专利权的保全及其解除
状态信息
专利权保全的解除;IPC(主分类):F16H 57/021;专利号:ZL2016201800920;申请日:20160309;授权公告日:20161221;登记生效日:;解除日:20220923
2022-11-11
专利权的保全及其解除
状态信息
专利权的保全;IPC(主分类):F16H 57/021;专利号:ZL2016201800920;申请日:20160309;授权公告日:20161221;登记生效日:20220923;解除日:
2019-11-08
专利权的保全及其解除
状态信息
专利权的保全;IPC(主分类):F16H 57/021;专利号:ZL2016201800920;申请日:20160309;授权公告日:20161221;登记生效日:20190923;解除日:
2018-11-09
专利权质押合同登记的生效、变更及注销
状态信息
专利权质押合同登记的生效;IPC(主分类):F16H 57/021;专利号:ZL2016201800920;登记号:2018990000917;登记生效日:20181017;出质人:内蒙古欧意德发动机有限公司、天津华泰汽车车身制造有限公司、包头市恒通(集团)有限责任公司;质权人:锦州银行股份有限公司解放路支行;实用新型名称:推力轴承装配组件、变速箱及汽车;申请日:20160309;授权公告日:20161221
2017-06-13
专利申请权、专利权的转移
状态信息
专利权的转移;IPC(主分类):F16H 57/021;登记生效日:20170525;变更事项:专利权人;变更前权利人:内蒙古欧意德发动机有限公司;变更后权利人:内蒙古欧意德发动机有限公司;变更事项:地址;变更前权利人:017010 内蒙古自治区鄂尔多斯市东胜康巴什新区;变更后权利人:017010 内蒙古自治区鄂尔多斯市东胜康巴什新区;变更事项:共同专利权人;变更后权利人:天津华泰汽车车身制造有限公司
2016-12-21
实用新型专利权授予
状态信息
授权
摘要
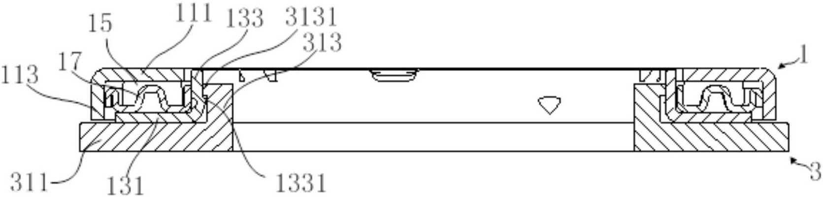
本实用新型的目的是提供一种推力轴承装配组件、变速箱及汽车。其中,推力轴承装配组件及安装有该推力轴承装配件的变速箱和汽车,包括:推力轴承和推力轴承座,所述推力轴承包括外圈、内圈以及设置在内圈和外圈之间的滚动组件;内圈包括内圈本体和沿轴向方向延伸且与内圈本体垂直的锁止部;推力轴承座设置在内圈远离外圈一侧,其包括与内圈本体接触的推力轴承座本体以及与锁止部延伸方向相同的配合部;锁止部形成有往配合部方向的凸起,配合部顶端形成有朝锁止部方向且与该凸起相配合的凸台。本实用新型提供的推力轴承装配组件、变速箱及汽车,降低了变速箱的安装难度,提高了装配效率。


