授权公布号:CN205780691U
用于自动变速箱的液力变矩器及汽车
有效
申请
2016-05-31
申请公布
1970-01-01
授权
2016-12-07
预估到期
2026-05-31
| 申请号 | CN201620518770.X |
| 申请日 | 2016-05-31 |
| 授权公布号 | CN205780691U |
| 授权公告日 | 2016-12-07 |
| 分类号 | F16H41/04 |
| 分类 | 工程元件或部件;为产生和保持机器或设备的有效运行的一般措施;一般绝热; |
| 申请人名称 | 内蒙古欧意德发动机有限公司 |
| 申请人地址 | 内蒙古自治区鄂尔多斯市东胜康巴什新区 |
专利法律状态
2022-11-15
专利权的保全及其解除
状态信息
专利权保全的解除;IPC(主分类):F16H 41/04;专利号:ZL201620518770X;申请日:20160531;授权公告日:20161207;登记生效日:;解除日:20220923
2022-11-15
专利权的保全及其解除
状态信息
专利权的保全;IPC(主分类):F16H 41/04;专利号:ZL201620518770X;申请日:20160531;授权公告日:20161207;登记生效日:20220923;解除日:
2019-11-05
专利权的保全及其解除
状态信息
专利权的保全;IPC(主分类):F16H 41/04;专利号:ZL201620518770X;申请日:20160531;授权公告日:20161207;登记生效日:20190923;解除日:
2018-11-09
专利权质押合同登记的生效、变更及注销
状态信息
专利权质押合同登记的生效;IPC(主分类):F16H 41/04;专利号:ZL201620518770X;登记号:2018990000917;登记生效日:20181017;出质人:内蒙古欧意德发动机有限公司、天津华泰汽车车身制造有限公司、包头市恒通(集团)有限责任公司;质权人:锦州银行股份有限公司解放路支行;实用新型名称:用于自动变速箱的液力变矩器及汽车;申请日:20160531;授权公告日:20161207
2017-07-14
专利申请权、专利权的转移
状态信息
专利权的转移;IPC(主分类):F16H 41/04;登记生效日:20170623;变更事项:专利权人;变更前权利人:内蒙古欧意德发动机有限公司;变更后权利人:内蒙古欧意德发动机有限公司;变更事项:地址;变更前权利人:017010 内蒙古自治区鄂尔多斯市东胜康巴什新区;变更后权利人:017010 内蒙古自治区鄂尔多斯市东胜康巴什新区;变更事项:共同专利权人;变更后权利人:天津华泰汽车车身制造有限公司
2016-12-07
实用新型专利权授予
状态信息
授权
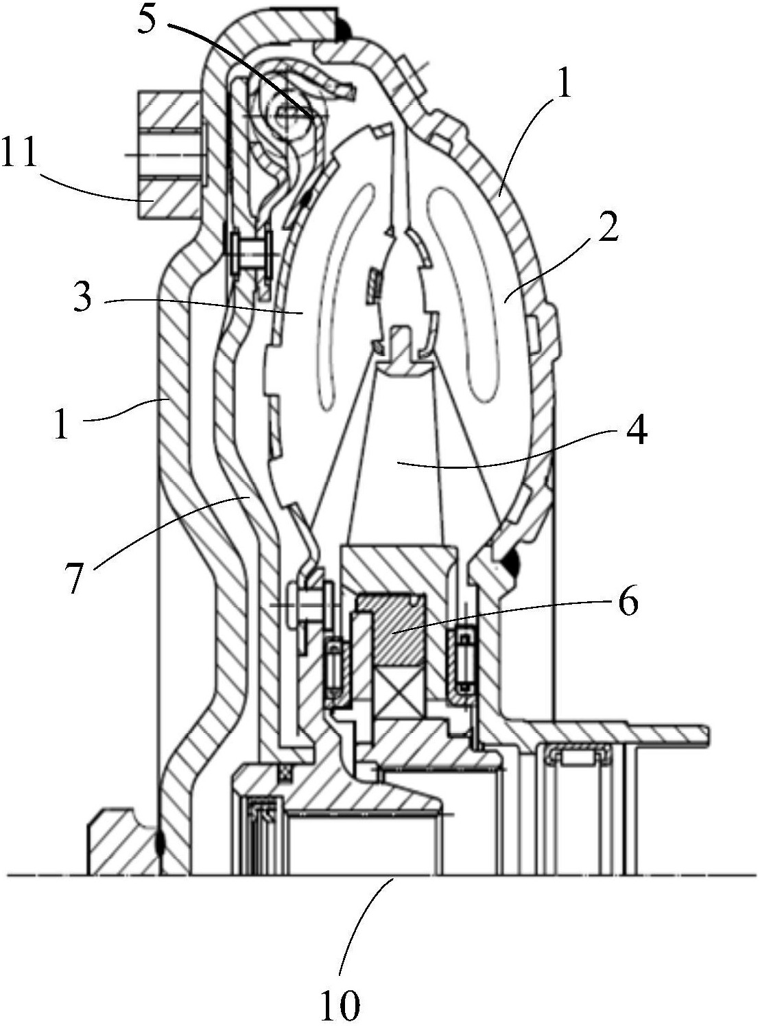
摘要
本实用新型提供一种用于自动变速箱的液力变矩器及汽车,该液力变矩器包括罩壳,罩壳内设有减震器、涡轮、泵轮和导轮;涡轮和泵轮沿轴向方向彼此相对设置,导轮位于涡轮和泵轮之间;泵轮与罩壳连接,罩壳与发动机曲轴连接,以驱动泵轮旋转;涡轮与变速箱输入轴连接,导轮的下方设有单向离合器,导轮通过单向离合器与变速箱壳体连接,减震器焊接在涡轮的顶端;罩壳在轴向上的最大尺寸为100mm~105mm,单向离合器的轴向尺寸为9.5mm~10.5mm,液力变矩器的扭矩至少为380Nm。从而使液力变矩器在轴向上的尺寸减小,且在该尺寸下液力变矩器的扭矩至少为380Nm,在保证扭矩的同时,实现了液力变矩器的超薄化。


