授权公布号:CN205504095U
单向阀、变速箱及汽车
有效
申请
2016-03-09
申请公布
1970-01-01
授权
2016-08-24
预估到期
2026-03-09
| 申请号 | CN201620181281.X |
| 申请日 | 2016-03-09 |
| 授权公布号 | CN205504095U |
| 授权公告日 | 2016-08-24 |
| 分类号 | F16K15/04;F16D48/02 |
| 分类 | 工程元件或部件;为产生和保持机器或设备的有效运行的一般措施;一般绝热; |
| 申请人名称 | 内蒙古欧意德发动机有限公司 |
| 申请人地址 | 内蒙古自治区鄂尔多斯市东胜康巴什新区 |
专利法律状态
2022-11-15
专利权的保全及其解除
状态信息
专利权保全的解除;IPC(主分类):F16K 15/04;专利号:ZL201620181281X;申请日:20160309;授权公告日:20160824;登记生效日:;解除日:20220923
2022-11-15
专利权的保全及其解除
状态信息
专利权的保全;IPC(主分类):F16K 15/04;专利号:ZL201620181281X;申请日:20160309;授权公告日:20160824;登记生效日:20220923;解除日:
2019-11-05
专利权的保全及其解除
状态信息
专利权的保全;IPC(主分类):F16K 15/04;专利号:ZL201620181281X;申请日:20160309;授权公告日:20160824;登记生效日:20190923;解除日:
2018-11-09
专利权质押合同登记的生效、变更及注销
状态信息
专利权质押合同登记的生效;IPC(主分类):F16K 15/04;专利号:ZL201620181281X;登记号:2018990000917;登记生效日:20181017;出质人:内蒙古欧意德发动机有限公司、天津华泰汽车车身制造有限公司、包头市恒通(集团)有限责任公司;质权人:锦州银行股份有限公司解放路支行;实用新型名称:单向阀、变速箱及汽车;申请日:20160309;授权公告日:20160824
2017-06-20
专利申请权、专利权的转移
状态信息
专利权的转移;IPC(主分类):F16K 15/04;登记生效日:20170601;变更事项:专利权人;变更前权利人:内蒙古欧意德发动机有限公司;变更后权利人:内蒙古欧意德发动机有限公司;变更事项:地址;变更前权利人:017010 内蒙古自治区鄂尔多斯市东胜康巴什新区;变更后权利人:017010 内蒙古自治区鄂尔多斯市东胜康巴什新区;变更事项:共同专利权人;变更后权利人:天津华泰汽车车身制造有限公司
2016-08-24
实用新型专利权授予
状态信息
授权
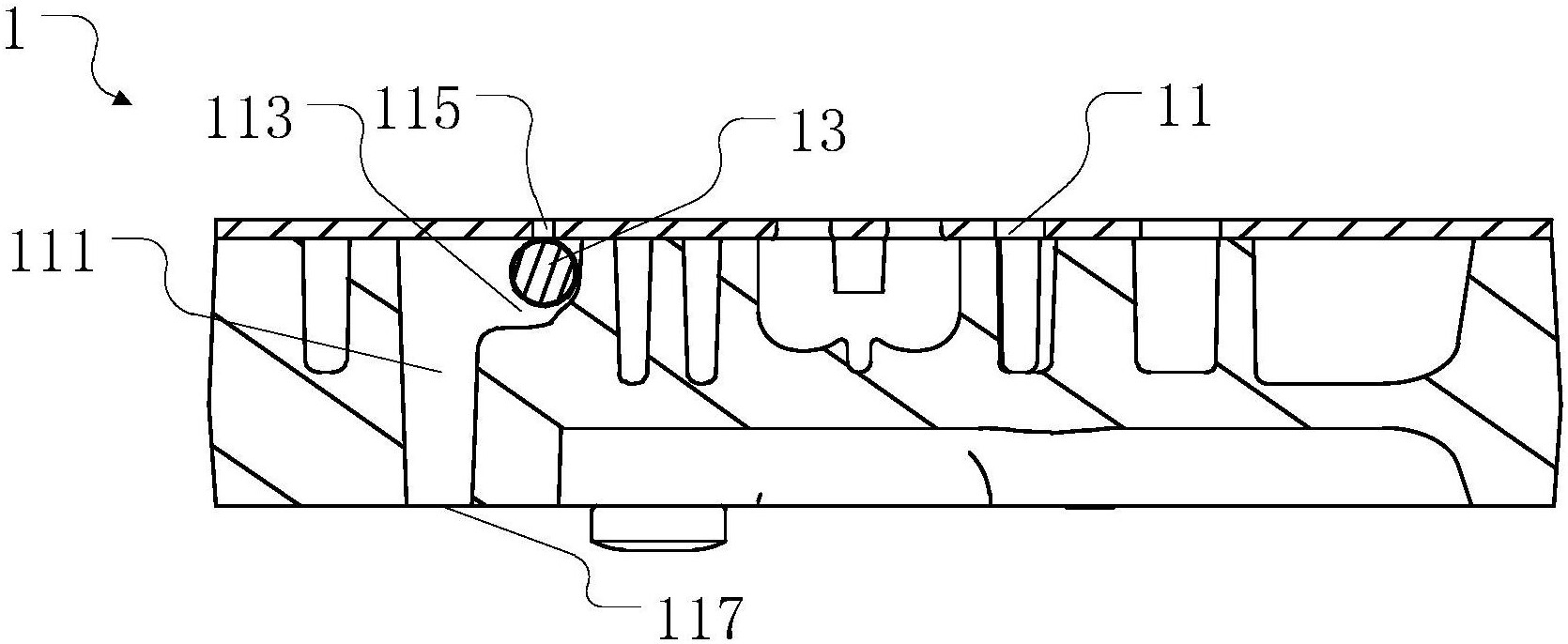
摘要
本实用新型提供一种单向阀、变速箱及汽车。本实用新型公开的汽车上安装有包括油泵和油缸的变速箱,在油泵和油缸之间分别连接有包括第一节流阀的第一管道以及包括单向阀的第二管道。该单向阀的阀体内的空腔的第一端通过出液口与油缸连接,空腔的第二端与设置在其一侧的容纳有球体的容腔连通,容腔通过阀体上开设的进液口与油泵连接。上述球体的直径大于进液口的直径。本实用新型提供的单向阀、变速箱及汽车,通过单向阀中球体与进液口的配合来实现对流体方向的控制,结构简单且不易腐蚀。


