授权公布号:CN205823990U
离合器齿毂及离合器
有效
申请
2016-03-09
申请公布
1970-01-01
授权
2016-12-21
预估到期
2026-03-09
| 申请号 | CN201620180889.0 |
| 申请日 | 2016-03-09 |
| 授权公布号 | CN205823990U |
| 授权公告日 | 2016-12-21 |
| 分类号 | F16D13/58;F16D23/12 |
| 分类 | 工程元件或部件;为产生和保持机器或设备的有效运行的一般措施;一般绝热; |
| 申请人名称 | 内蒙古欧意德发动机有限公司 |
| 申请人地址 | 内蒙古自治区鄂尔多斯市东胜康巴什新区 |
专利法律状态
2022-11-11
专利权的保全及其解除
状态信息
专利权保全的解除;IPC(主分类):F16D13/58;申请日:20160309;授权公告日:20161221;解除日:20220923
2022-11-11
专利权的保全及其解除
状态信息
专利权的保全;IPC(主分类):F16D13/58;申请日:20160309;授权公告日:20161221;登记生效日:20220923
2019-11-05
专利权的保全及其解除
状态信息
专利权的保全;IPC(主分类):F16D13/58;申请日:20160309;授权公告日:20161221;登记生效日:20190923
2018-11-09
专利权质押合同登记的生效、变更及注销
状态信息
专利权质押合同登记的生效;IPC(主分类):F16D13/58;登记号:2018990000917;登记生效日:20181017;出质人:内蒙古欧意德发动机有限公司、天津华泰汽车车身制造有限公司、包头市恒通(集团)有限责任公司;质权人:锦州银行股份有限公司解放路支行;实用新型名称:离合器齿毂及离合器;申请日:20160309;授权公告日:20161221
2017-06-16
专利申请权、专利权的转移
状态信息
专利权的转移;IPC(主分类):F16D13/58;登记生效日:20170531;变更事项:专利权人;变更前:内蒙古欧意德发动机有限公司;变更后:内蒙古欧意德发动机有限公司;变更事项:地址;变更前:017010 内蒙古自治区鄂尔多斯市东胜康巴什新区;变更后:017010 内蒙古自治区鄂尔多斯市东胜康巴什新区;变更事项:共同专利权人;变更后:天津华泰汽车车身制造有限公司
2016-12-21
授权
状态信息
授权
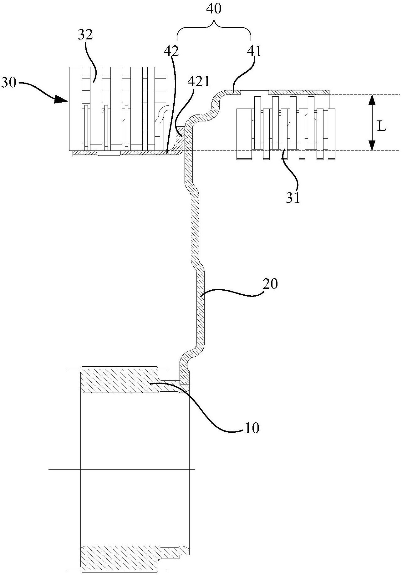
摘要
本实用新型公开了一种离合器齿毂及离合器,包括:用于与齿轮固定连接的固定部,以及用于与摩擦片组接合的接合部,所述接合部包括分别垂直于所述固定部设置的第一接合部和第二接合部,所述第一接合部与所述第二接合部固定在一起,所述第一接合部上靠近所述齿轮的一侧形成有内齿,所述第二接合部上远离所述齿轮的一侧形成有外齿。本实用新型提供的离合器齿毂及离合器能够实现一个齿轮具有两个速度输入,且结构简单,成本较低。


