授权公布号:CN110466482B
一种刹车系统
有效
申请
2019-08-07
申请公布
2019-11-19
授权
2021-07-23
预估到期
2039-08-07
| 申请号 | CN201910724391.4 |
| 申请日 | 2019-08-07 |
| 申请公布号 | CN110466482A |
| 申请公布日 | 2019-11-19 |
| 授权公布号 | CN110466482B |
| 授权公告日 | 2021-07-23 |
| 分类号 | B60T1/14 |
| 分类 | 一般车辆; |
| 申请人名称 | 移康智能科技(上海)股份有限公司 |
| 申请人地址 | 上海市闵行区东川路555号乙楼A2110室 |
专利法律状态
2021-07-23
授权
状态信息
授权
2019-11-19
公布
状态信息
公布
摘要
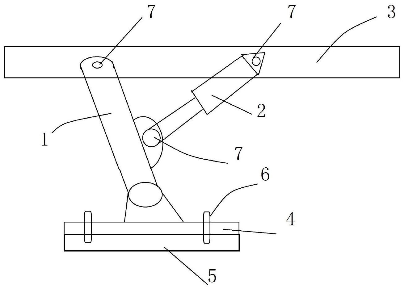
本发明公开了一种刹车系统,包括辅助刹车结构,所述辅助刹车结构包括钢臂和液压装置,所述钢臂、液压装置一端均与汽车的底盘相连,所述液压装置另一端与钢臂一侧相连,所述钢臂的下端设置有一摩擦结构,本发明采用辅助刹车结构,可以起到在危险来临的时候,起到刹车的作用,从而避免事故的发生或者减轻事故带来的损失。


