授权公布号:CN114932369B
一种可实现精准上料的螺母机送料结构
有效
申请
2022-05-27
申请公布
2022-08-23
授权
2022-12-23
预估到期
2042-05-27
| 申请号 | CN202210593990.9 |
| 申请日 | 2022-05-27 |
| 申请公布号 | CN114932369A |
| 申请公布日 | 2022-08-23 |
| 授权公布号 | CN114932369B |
| 授权公告日 | 2022-12-23 |
| 分类号 | B23K37/047;B65G47/04;B65G47/10 |
| 分类 | 机床;不包含在其他类目中的金属加工; |
| 申请人名称 | 浙江东明不锈钢制品股份有限公司 |
| 申请人地址 | 浙江省嘉兴市昌盛东路88号 |
专利法律状态
2022-12-23
授权
状态信息
授权
2022-08-23
公布
状态信息
公布
摘要
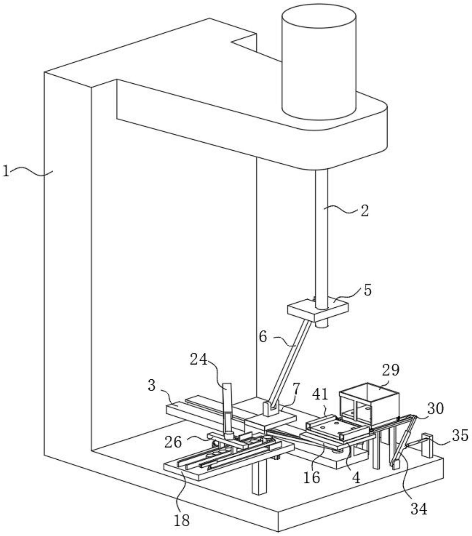
本发明公开了螺母机技术领域的一种可实现精准上料的螺母机送料结构,包括螺母点焊机主体,所述螺母点焊机主体设置有点焊杆,所述螺母点焊机主体固定连接有支撑板,所述支撑板上方设置有定位板,通过上料组能够自动的对定位板进行上料,然后定位板对待加工工件进行夹紧固定,防止在工件加工的过程中工件产生偏移影响到螺母放置的精度,在点焊杆每一次下降对工件进行焊接时,驱动组件都会带动定位板沿着矩形的轨迹移动,使已经焊接过的安装孔的位置移动到其他位置,不需要人工在加工的过程中持续手工件进行固定和转动工件进行安装孔的换向。


