授权公布号:CN218231523U
一种吊具
有效
申请
2022-09-15
申请公布
1970-01-01
授权
2023-01-06
预估到期
2032-09-15
| 申请号 | CN202222449012.5 |
| 申请日 | 2022-09-15 |
| 授权公布号 | CN218231523U |
| 授权公告日 | 2023-01-06 |
| 分类号 | B66C1/28 |
| 分类 | 卷扬;提升;牵引; |
| 申请人名称 | 江苏大明工业科技集团有限公司 |
| 申请人地址 | 江苏省无锡市锡山区东北塘镇 |
专利法律状态
2023-01-06
授权
状态信息
授权
摘要
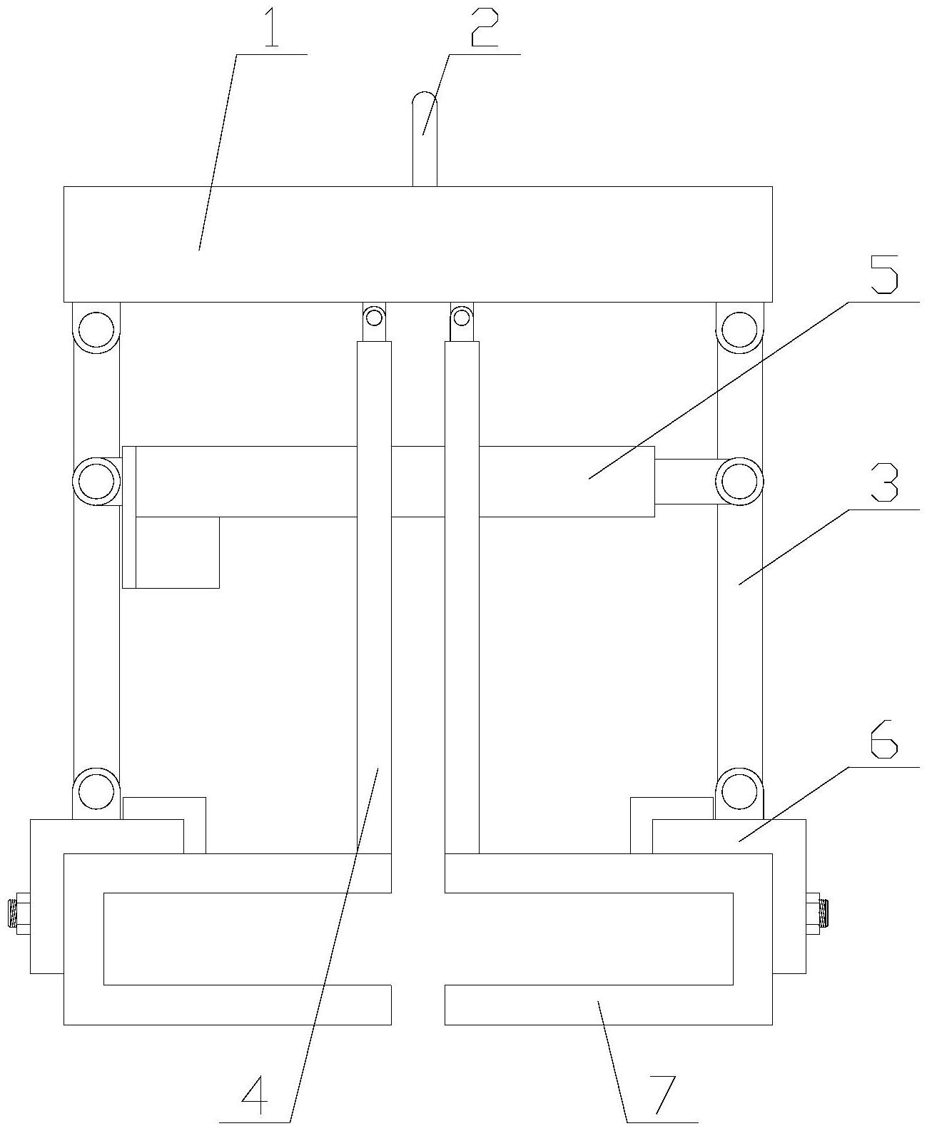
本实用新型公开了一种吊具,包括起重架,起重架顶面设置有吊耳,起重架正下方设置有两个横梁,各横梁上均设置有两个C形吊爪,横梁和位于其上的两个吊爪均通过传动件与起重架连接,两个传动件之间设置有伸缩装置,伸缩装置伸缩时,通过传动件控制两个横梁上的吊爪开合。本实用新型横梁与吊爪之间固定组成稳定的结构,通过传动件连接起重架与吊爪和横梁,使吊具整体具有稳定的结构,提升了吊具的稳定性,通过伸缩装置控制吊爪开合,实现对钢板的吊装,提升了吊具使用的便捷度,通过多个C形吊爪从两侧实现对钢板的夹持固定,降低了钢板发生滑脱的几率,提升了吊具吊装的可靠性。


