授权公布号:CN218254800U
一种抽砂泵丁睛球拆卸工装
有效
申请
2022-10-08
申请公布
1970-01-01
授权
2023-01-10
预估到期
2032-10-08
| 申请号 | CN202222635442.6 |
| 申请日 | 2022-10-08 |
| 授权公布号 | CN218254800U |
| 授权公告日 | 2023-01-10 |
| 分类号 | B25B11/00 |
| 分类 | 手动工具;轻便机动工具;手动器械的手柄;车间设备;机械手; |
| 申请人名称 | 江苏大明工业科技集团有限公司 |
| 申请人地址 | 江苏省无锡市锡山区东北塘镇 |
专利法律状态
2023-01-10
授权
状态信息
授权
摘要
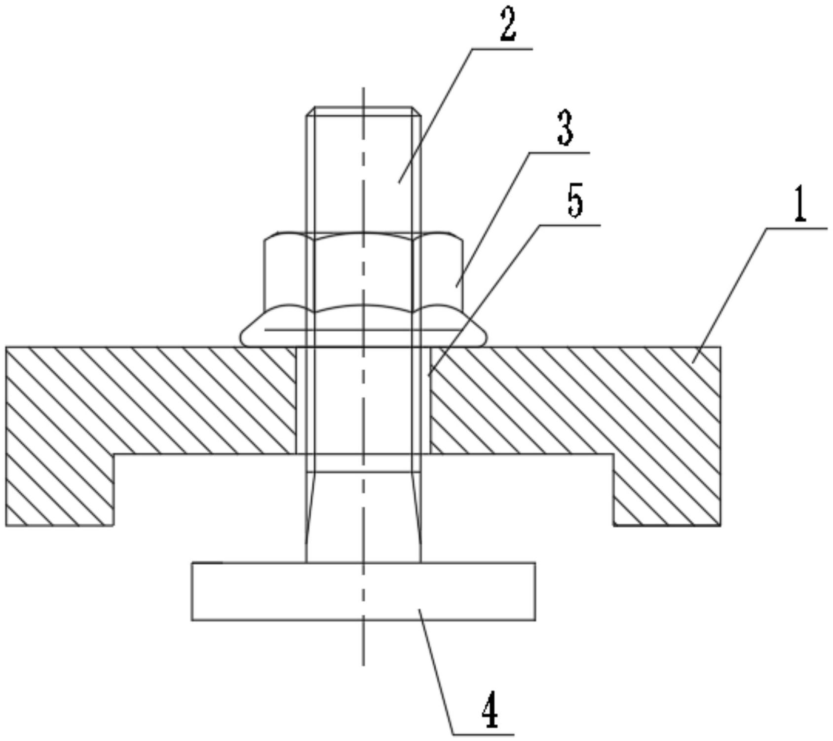
本实用新型涉及抽砂泵拆卸技术领域,具体涉及一种抽砂泵丁睛球拆卸工装。包括支撑块、螺栓、螺母;支撑块呈倒“凹”字状,支撑块上设置有螺栓,螺母设置于螺栓上位于支撑块顶部处,螺栓上位于支撑块的下方设置有托板。当需要对抽砂泵中的丁睛球进行更换时,将支撑块放置在抽砂泵出口处,之后将螺栓穿设在抽砂泵内垫片上的圆孔内,使得托板能够对垫片起到支撑的作用,之后转动螺母,能够使得螺栓能够向上移动。当螺栓向上移动时,托板就能够带着垫片一起向上移动,从而能够将垫片从抽砂泵中拆卸下来,工人就能够将丁睛球从抽砂泵中取出。无需对抽砂泵外部进行敲打,避免对抽砂泵外部造成损伤,同时提高抽砂泵拆卸的便捷性。


