授权公布号:CN218477451U
货车篷布自动遮盖装置和具有自动遮盖功能的车箱
有效
申请
2022-10-09
申请公布
1970-01-01
授权
2023-02-14
预估到期
2032-10-09
| 申请号 | CN202222650915.X |
| 申请日 | 2022-10-09 |
| 授权公布号 | CN218477451U |
| 授权公告日 | 2023-02-14 |
| 分类号 | B60P7/04 |
| 分类 | 一般车辆; |
| 申请人名称 | 河北津西钢铁集团股份有限公司 |
| 申请人地址 | 河北省唐山市迁西县经济开发区西区(三屯营镇东) |
专利法律状态
2023-02-14
授权
状态信息
授权
摘要
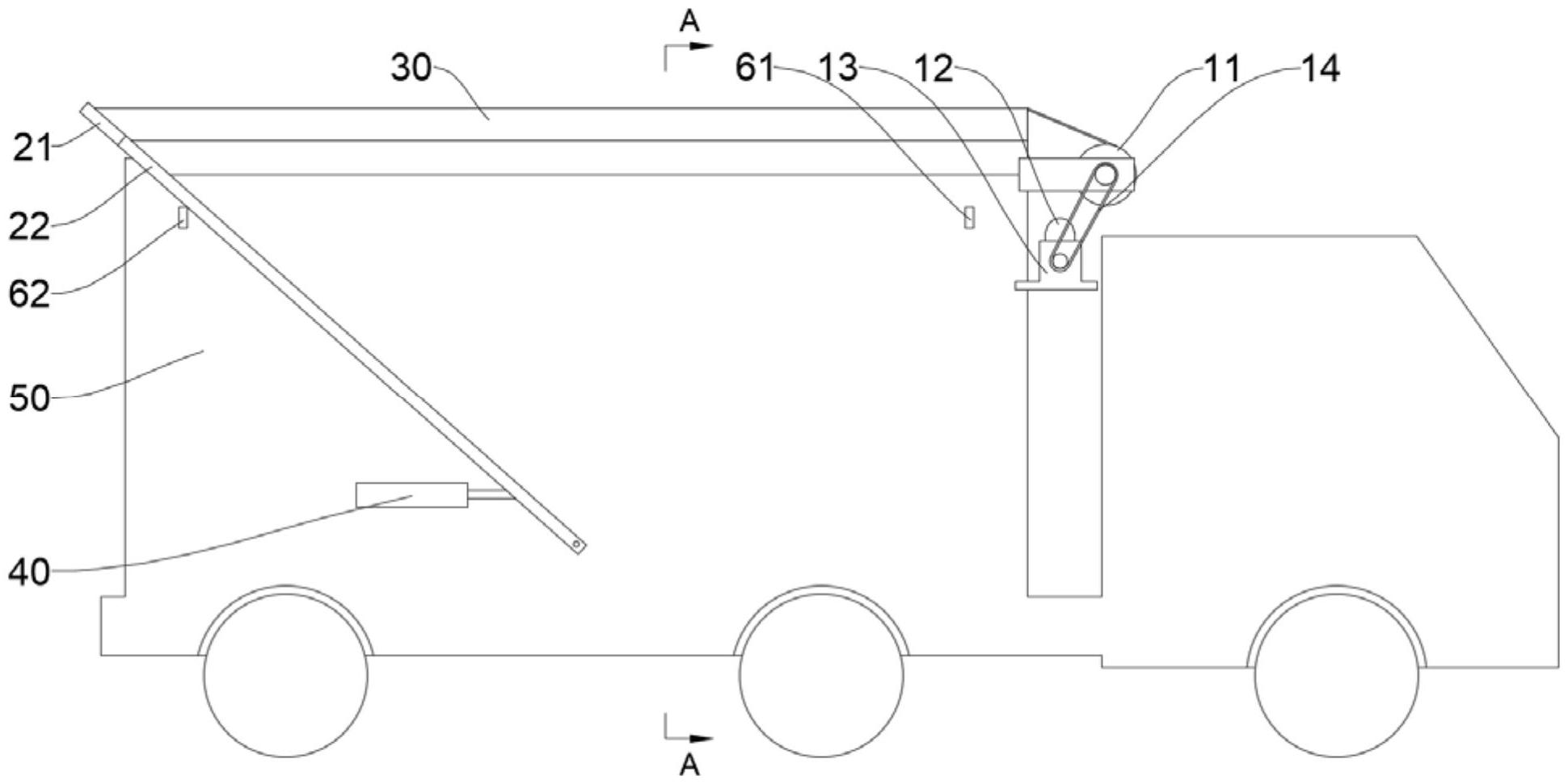
本实用新型提供了一种货车篷布自动遮盖装置和具有自动遮盖功能的车箱,所述货车篷布自动遮盖装置包括卷收组件、支撑架、篷布和动力组件;卷收组件包括驱动组件和卷筒,驱动组件与卷筒传动连接,以驱动卷筒转动;支撑架包括支撑杆和两根摆杆,支撑杆呈倒置的“V”字形结构,用来设在车箱上侧;两根摆杆适于分别设在车箱两侧,一端与车箱转动连接,另一端分别与支撑杆的两端连接;篷布一端与卷筒连接,另一端与支撑杆连接;篷布两侧边缘设有吸附组件,吸附组件适于将篷布吸附在车箱上;动力组件安装在车箱上,一端与摆杆连接;能够使篷布两侧边缘自动吸附在车箱上。本实用新型提供的具有自动遮盖功能的车箱,车箱和上述的货车篷布自动遮盖装置。


