授权公布号:CN204851807U
切边重卷机组张力压板的驱动液压系统
有效
申请
2015-08-18
申请公布
1970-01-01
授权
2015-12-09
预估到期
2025-08-18
| 申请号 | CN201520623570.6 |
| 申请日 | 2015-08-18 |
| 授权公布号 | CN204851807U |
| 授权公告日 | 2015-12-09 |
| 分类号 | F15B11/00 |
| 分类 | 流体压力执行机构;一般液压技术和气动技术; |
| 申请人名称 | 四川金广实业(集团)股份有限公司 |
| 申请人地址 | 四川省德阳市广汉市苏州路北二段一号 |
专利法律状态
2015-12-09
授权
状态信息
授权
摘要
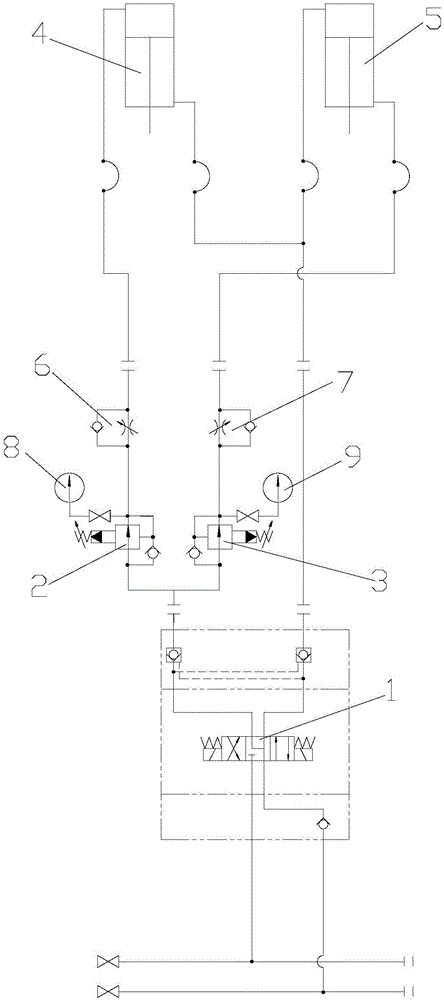
本实用新型公开了一种切边重卷机组张力压板的驱动液压系统,属于切边重卷机组液压控制领域。切边重卷机组张力压板的驱动液压系统,包括换向阀,所述换向阀的一个工作接口连接设置连接两个并列的减压阀,分别为第一减压阀和第二减压阀,还包括第一油缸和第二油缸,所述第一减压阀连接第一油缸,所述第二减压阀连接第二油缸。本实用新型提供了一种切边重卷机组张力压板的驱动液压系统,所述系统可单独调整张力压板两端液压油缸的压力。


