授权公布号:CN217654278U
改进的加热炉内悬臂辊结构
有效
申请
2022-07-04
申请公布
1970-01-01
授权
2022-10-25
预估到期
2032-07-04
| 申请号 | CN202221700618.5 |
| 申请日 | 2022-07-04 |
| 授权公布号 | CN217654278U |
| 授权公告日 | 2022-10-25 |
| 分类号 | F27B9/24;F27B9/30 |
| 分类 | 炉;窑;烘烤炉;蒸馏炉〔4〕; |
| 申请人名称 | 方大特钢科技股份有限公司 |
| 申请人地址 | 江西省南昌市高新技术产业开发区火炬大道31号 |
专利法律状态
2022-10-25
授权
状态信息
授权
摘要
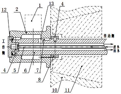
本实用新型公开了一种改进的加热炉内悬臂辊结构,辊轴设置有与悬臂辊套内端相匹配的轴台阶,辊轴的中间为空腔,该空腔内装有冷却水管,位于工作侧的辊轴顶端通过固定销固定安装有台阶堵头,位于悬臂辊套内端通过固定销安装有定位套。本实用新型解决了悬臂辊套掉入炉内的问题,防止了焊缝因炉内高温破坏而造成冷却水的渗漏,解决了悬臂辊套从辊轴出现脱落的问题,大大提高了悬臂辊套使用寿命。


