授权公布号:CN103878736B
一种通用型液压插装阀更换工具
有效
申请
2014-03-25
申请公布
2014-06-25
授权
2015-11-04
预估到期
2034-03-25
| 申请号 | CN201410112785.1 |
| 申请日 | 2014-03-25 |
| 申请公布号 | CN103878736A |
| 申请公布日 | 2014-06-25 |
| 授权公布号 | CN103878736B |
| 授权公告日 | 2015-11-04 |
| 分类号 | B25B27/02 |
| 分类 | 手动工具;轻便机动工具;手动器械的手柄;车间设备;机械手; |
| 申请人名称 | 济钢集团有限公司 |
| 申请人地址 | 山东省济南市历城区工业北路21号 |
专利法律状态
2015-11-04
授权
状态信息
授权
2014-07-16
实质审查的生效
状态信息
实质审查的生效IPC(主分类):B25B 27/02申请日:20140325
2014-06-25
公布
状态信息
公开
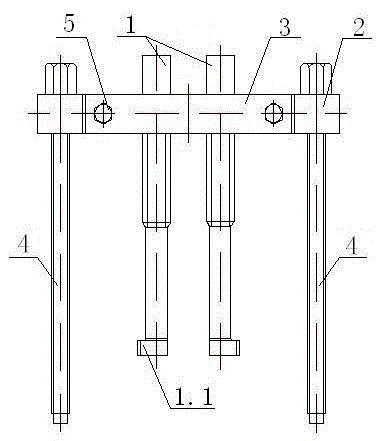
摘要
一种通用型液压插装阀更换工具,包括两个底部设置有拉钩的拉杆、拉杆距离调节机构和加力机构,所述拉杆距离调节机构包括承力板及与承力板配合的压板,所述拉杆位于承力板和压板之间,所述承力板与压板通过螺栓连接。加力机构作用于插装阀外的阀台部位,使用时,螺栓将拉杆顶紧,拉杆上的拉钩将插装阀从阀台内取出;根据待更换的插装阀规格尺寸调节两个拉杆之间的距离以及拉杆在竖直方向上的位置,可实现不同规格尺寸的插装阀的快速更换,提高作业效率;本插装阀更换工具结构简单、定位准确、使用方便。


