授权公布号:CN214022677U
一种用于焊接尖角方钢的三辊挤压装置
有效
申请
2020-10-31
申请公布
1970-01-01
授权
2021-08-24
预估到期
2030-10-31
| 申请号 | CN202022472190.0 |
| 申请日 | 2020-10-31 |
| 授权公布号 | CN214022677U |
| 授权公告日 | 2021-08-24 |
| 分类号 | B21C37/08 |
| 分类 | 基本上无切削的金属机械加工;金属冲压; |
| 申请人名称 | 济钢集团有限公司 |
| 申请人地址 | 山东省济南市历城区工业北路21号 |
专利法律状态
2021-08-24
授权
状态信息
授权
摘要
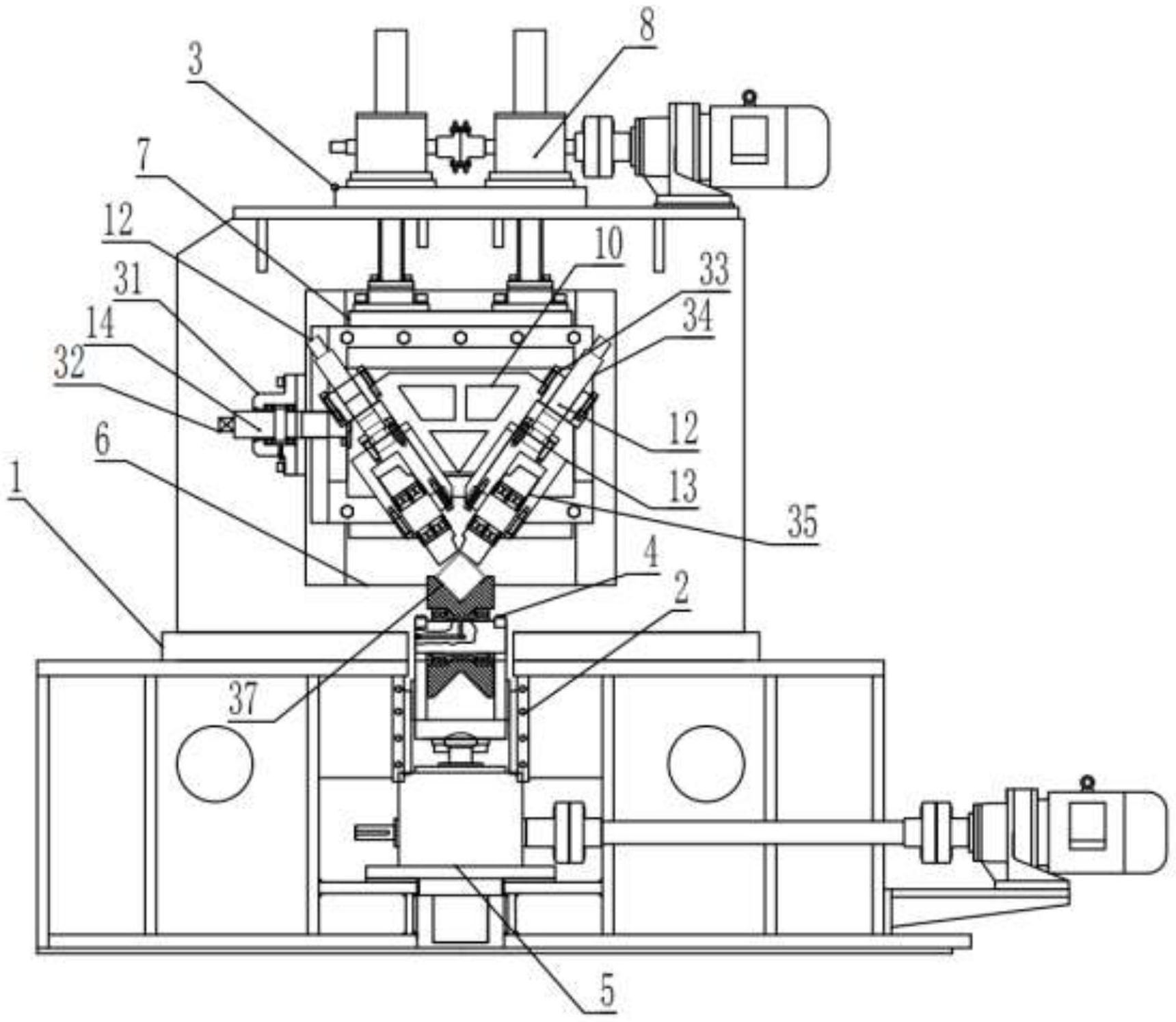
本实用新型公开了一种用于焊接尖角方钢的三辊挤压装置,包括挤压辊机架,以及安装在挤压辊机架的下挤压辊机构和上挤压辊机构,下挤压辊机构包括用于放置待加工管的下托辊,下托辊下方设有第一升降机构,上挤压辊机构包括大托板,用于调节大托板高度的第二升降机构;滑动连接在大托板上的滑动架板,设置在滑动架板上端左右两侧的横向支架,横向支架上对称安装有两个第二微调机构,第二微调机构下端连接有用于安装上托辊的上辊滑块,上托辊相互倾斜呈一定夹角;安装在大托板一侧的第一微调机构,用于驱动滑动架板左右移动。本实用新型具有生产更加稳固和高速、结构简单和实用、调节方便以及挤压力大和焊缝速度高、焊接质量高等优点。


