授权公布号:CN209597893U
一种自制开模机
有效
申请
2019-01-28
申请公布
1970-01-01
授权
2019-11-08
预估到期
2029-01-28
| 申请号 | CN201920147256.3 |
| 申请日 | 2019-01-28 |
| 授权公布号 | CN209597893U |
| 授权公告日 | 2019-11-08 |
| 分类号 | B21C35/02;B21C35/00 |
| 分类 | 基本上无切削的金属机械加工;金属冲压; |
| 申请人名称 | 肇庆亚洲铝厂有限公司 |
| 申请人地址 | 广东省肇庆市高新技术开发产业开发区 |
专利法律状态
2023-09-22
专利权的保全及其解除
状态信息
专利权的保全;IPC(主分类):B21C 35/02;专利号:ZL2019201472563;申请日:20190128;授权公告日:20191108;登记生效日:20230905;解除日:
2022-12-23
专利权的保全及其解除
状态信息
专利权保全的解除;IPC(主分类):B21C35/02;申请日:20190128;授权公告日:20191108;解除日:20221104
2019-12-10
专利权的保全及其解除
状态信息
专利权的保全;IPC(主分类):B21C35/02;申请日:20190128;授权公告日:20191108;登记生效日:20191104
2019-11-08
授权
状态信息
授权
摘要
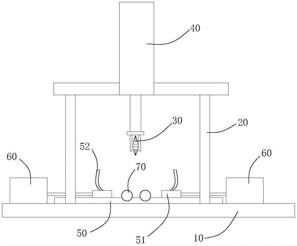
本实用新型公开了一种自制开模机,包括底座、位于所述底座上的门形支架;所述门形支架上设有用于将待分离的挤压模具进行分离的分离圆盘,所述分离圆盘由升降机构驱动进行上下移动;所述底座上设有横向导轨,所述横向导轨的两端部设有在所述横向导轨上移动并用于将待分离的挤压模具进行固定的紧固机构;所述底座上于所述分离圆盘的下方设有用于将待分离的挤压模具沿其圆周方向转动的滚动辊。本实用新型的自制开模机采用自动的方式代替手工方式将挤压模具分离作用,大大提高了开模的工作效率,也减轻工人的人力劳动和模具的完好性,避免开模工作中造成的工伤事故。


