授权公布号:CN220345475U
一种用于脱硝系统热解炉氨气喷管结晶的清理装置
有效
申请
2023-05-23
申请公布
1970-01-01
授权
2024-01-16
预估到期
2033-05-23
| 申请号 | CN202321279239.8 |
| 申请日 | 2023-05-23 |
| 授权公布号 | CN220345475U |
| 授权公告日 | 2024-01-16 |
| 分类号 | B01D53/86;B01D53/56;B01D53/34;B08B9/032 |
| 分类 | 一般的物理或化学的方法或装置; |
| 申请人名称 | 山东南山铝业股份有限公司 |
| 申请人地址 | 山东省烟台市龙口市徐福街道东海工业园山东南山科学技术研究院有限公司行政楼305室 |
专利法律状态
2024-01-16
授权
状态信息
授权
摘要
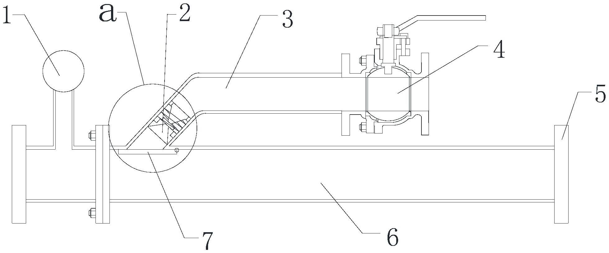
本实用新型提供一种用于脱硝系统热解炉氨气喷管结晶的清理装置,包括氨气管道和蒸汽管道,氨气管道的一端通过法兰与氨气进气管连接,氨气管道的另一端通过气体流量计与氨气喷嘴连接。蒸汽管道的一端与氨气管道的侧壁连通,蒸汽管道的另一端通过球阀与蒸汽进气管连接。蒸汽管道在与氨气管道连接的一端滑动安装有加压喷头,蒸汽管道的内壁上设有限位环,限位环通过弹簧与加压喷头连接。弹簧套设在加压喷头外部,弹簧的一端与限位环连接,弹簧的另一端与加压喷头的底部外壁连接。本实用新型通过气体流量计能够直观判断氨气喷嘴的通堵状态;利用硫酸氢铵易溶于水的特性,通过加压喷嘴释放高温蒸汽对氨气喷嘴进行清理,保证了氨气的充足供应。


