授权公布号:CN218425984U
一种铝型材的切割装置
有效
申请
2022-08-19
申请公布
1970-01-01
授权
2023-02-03
预估到期
2032-08-19
| 申请号 | CN202222190744.7 |
| 申请日 | 2022-08-19 |
| 授权公布号 | CN218425984U |
| 授权公告日 | 2023-02-03 |
| 分类号 | B23D59/00;B23Q11/00 |
| 分类 | 机床;不包含在其他类目中的金属加工; |
| 申请人名称 | 福建省闽发铝业股份有限公司 |
| 申请人地址 | 福建省泉州市南安市东田镇蓝溪村(一期)11幢1-3层 |
专利法律状态
2023-02-03
授权
状态信息
授权
摘要
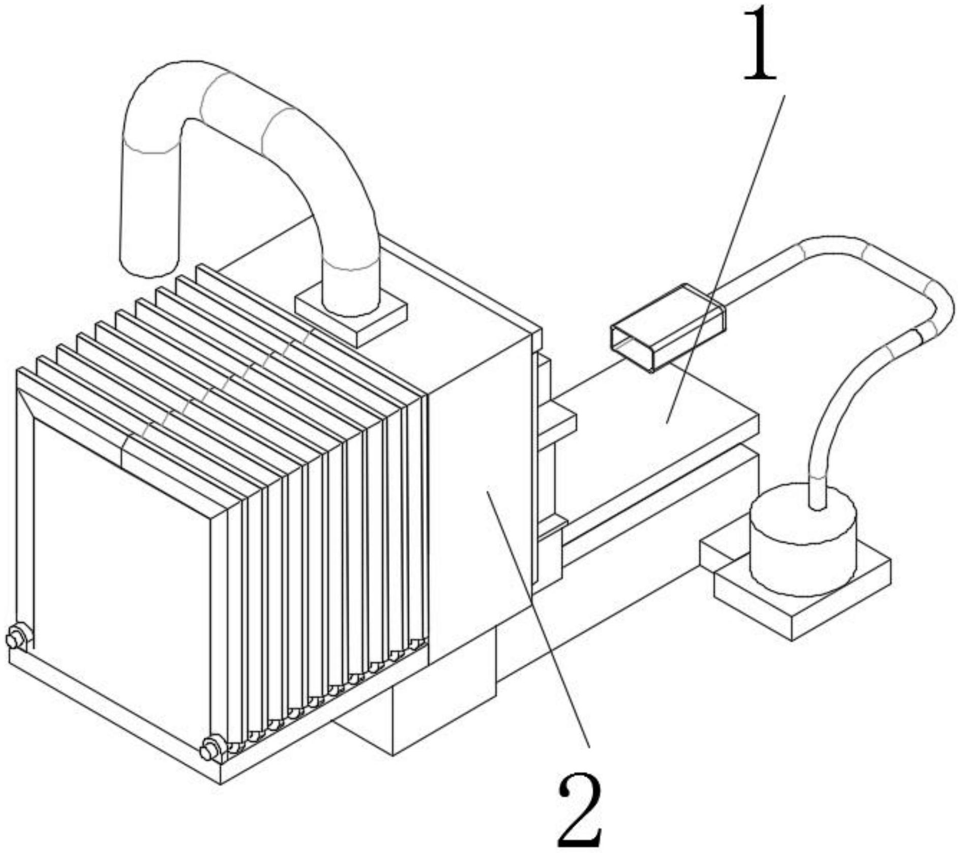
本实用新型公开了一种铝型材的切割装置,涉及铝型材切割技术领域。包括送料基座,所述送料基座的一侧固定连接有气泵,所述气泵的顶端固定设置有喷气管,所述喷气管的一端外侧固定连接有弹性挤压圈,送料基座的一端固定连接有抽尘箱体,所述抽尘箱体的顶端固定设置有吸灰管。本实用新型通过弹性挤压圈和喷气管的设置,将弹性挤压圈套在铝材的一端,并将喷气管插入铝材内,从而通过气泵鼓气将铝型材内部的铝屑从另一端吹出,而在铝型材的另一端设置抽尘箱体,在防止铝屑飞溅的同时,利用吸灰管的设置,直接将铝屑吸出,从而确保了切割过程中铝材内外都没有铝屑残留,防止了铝屑对生产线工作环境的破坏,确保了切割生产的安全性。


